专利数据库
统计分析
产业报告
专利数据监控
产业人才
行业动态
产业政策法规
维权援助
个人中心
详情
文本
图像
标题
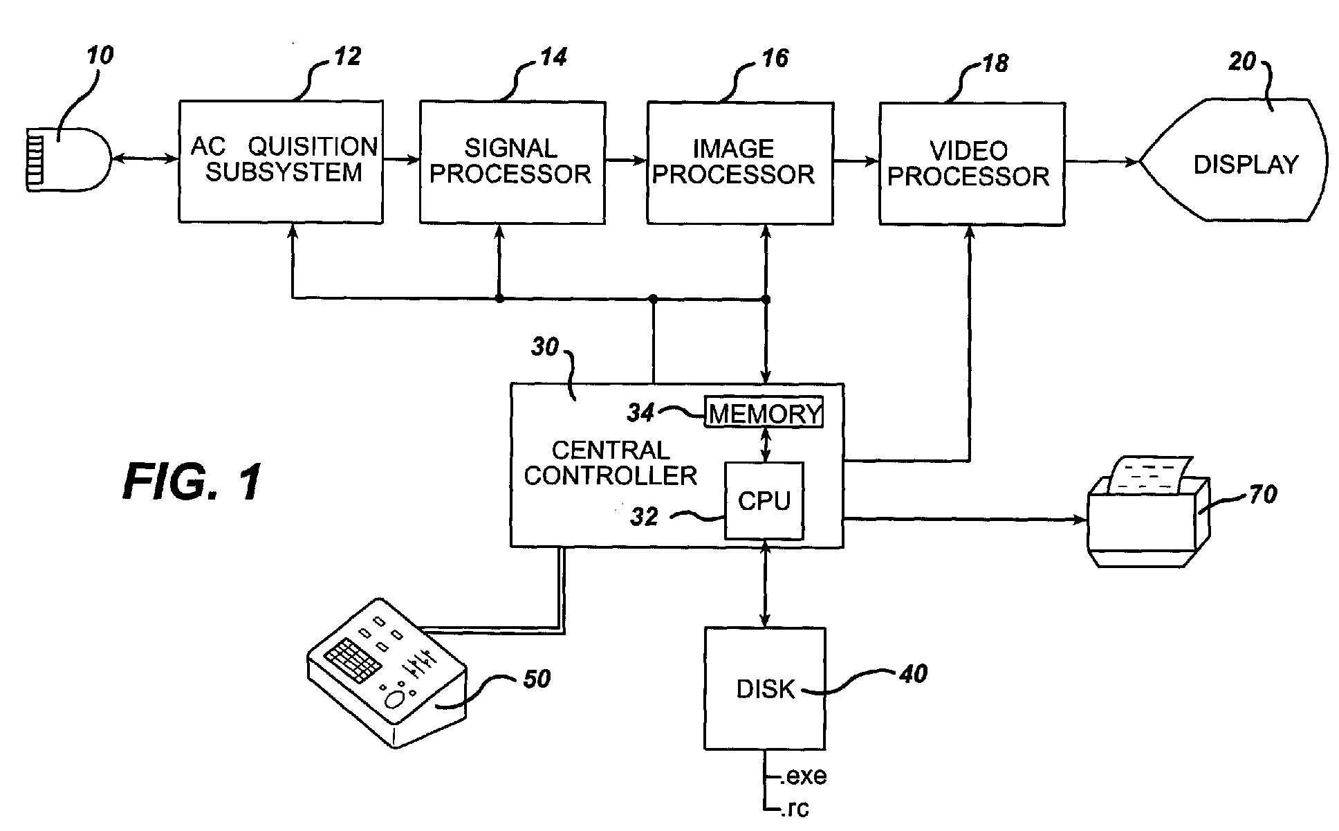
Ultrasonic diagnostic imaging system with multiple language user interface
授权日
1900-01-01
公开(公告)号
EP1407714A1
申请日
2003-10-10
公开(公告)日
2004-04-14
当前申请(专利权)人
KONINKLIJKE PHILIPS ELECTRONICS N.V.
发明人
ROM, GEORGE DANIEL
简单同族
EP1407714A1 | US6685637
简单同族成员数量
2
简单同族被引用专利总数
113
诉讼案件数
0
法律状态/事件
驳回
抱歉,您的浏览器不支持PDF预览,请点击链接下载PDF文件