专利数据库
统计分析
产业报告
专利数据监控
产业人才
行业动态
产业政策法规
维权援助
个人中心
详情
文本
图像
标题
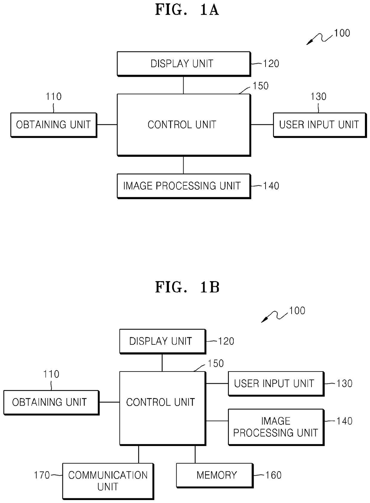
Ultrasound apparatus and information providing method of the ultrasound apparatus
授权日
2018-10-31
公开(公告)号
EP2974664B1
申请日
2013-09-24
公开(公告)日
2018-10-31
当前申请(专利权)人
SAMSUNG ELECTRONICS CO., LTD. | SAMSUNG MEDISON CO., LTD.
发明人
YANG, EUN-HO | KIM, HYOUNG-JIN | CHOI, JIN-YOUNG
简单同族
CN103654860A | CN103654860B | CN105662470A | CN105662470B | CN107106127A | CN107137108A | CN107174283A | CN107320130A | EP2710960A1 | EP2710960B1 | EP2898832A1 | EP2898832B1 | EP2946731A1 | EP2974664A1 | EP2974664B1 | EP3446634A1 | EP3494891A2 | EP3494891A3 | EP3494892A2 | EP3494892A3 | KR101630761B1 | KR101997896B1 | KR1020140039954A | KR1020170077208A | US10285666 | US10413277 | US10537307 | US10588603 | US10595827 | US10617391 | US20140088428A1 | US20150051491A1 | US20150057541A1 | US20150196277A1 | US20150297186A1 | US20150359516A1 | WO2014046513A1
简单同族成员数量
37
简单同族被引用专利总数
76
诉讼案件数
0
法律状态/事件
授权
抱歉,您的浏览器不支持PDF预览,请点击链接下载PDF文件