专利数据库
统计分析
产业报告
专利数据监控
产业人才
行业动态
产业政策法规
维权援助
个人中心
详情
文本
图像
标题
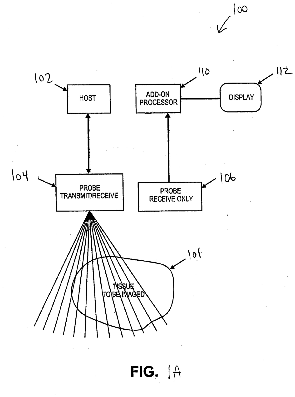
Imaging with multiple aperture medical ultrasound and synchronization of add-on systems
授权日
2018-08-01
公开(公告)号
EP2320802B1
申请日
2009-08-07
公开(公告)日
2018-08-01
当前申请(专利权)人
MAUI IMAGING, INC.
发明人
SPECHT, DONALD, F. | BREWER, KENNETH, D.
简单同族
EP2320802A2 | EP2320802A4 | EP2320802B1 | JP2011530345A | JP2015071074A | JP5666446B2 | JP5972960B2 | KR101659910B1 | KR1020110039581A | US20110178400A1 | US20140073921A1 | US8602993 | WO2010017445A2 | WO2010017445A3
简单同族成员数量
14
简单同族被引用专利总数
39
诉讼案件数
0
法律状态/事件
授权
抱歉,您的浏览器不支持PDF预览,请点击链接下载PDF文件