专利数据库
统计分析
产业报告
专利数据监控
产业人才
行业动态
产业政策法规
维权援助
个人中心
详情
文本
图像
标题
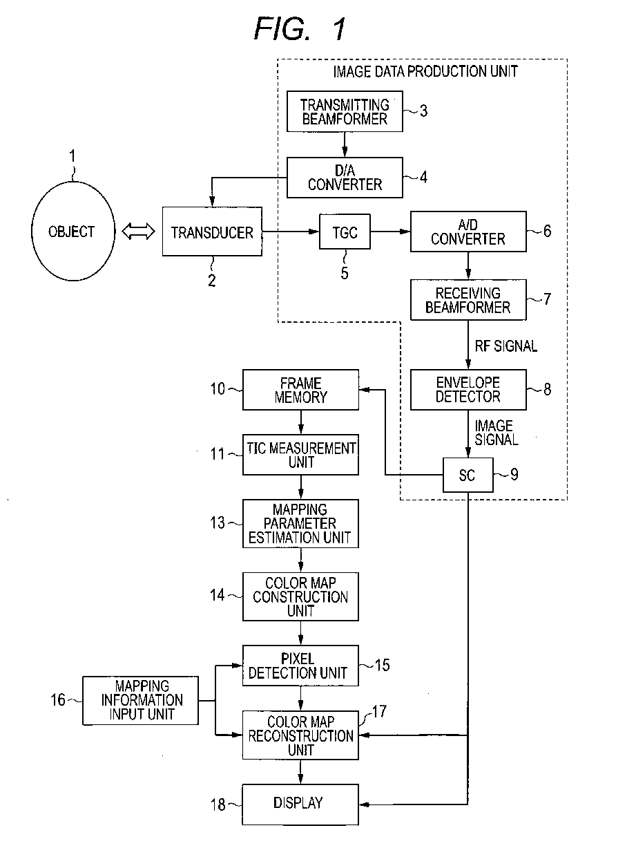
Ultrasonic imaging apparatus
授权日
1900-01-01
公开(公告)号
EP2255731A1
申请日
2009-02-17
公开(公告)日
2010-12-01
当前申请(专利权)人
HITACHI, LTD.
发明人
YOSHIKAWA, HIDEKI | AZUMA, TAKASHI
简单同族
CN101945615A | CN101945615B | EP2255731A1 | EP2255731A4 | EP2255731B1 | JP2012210507A | JP5111601B2 | JP5805594B2 | JPWO2009110308A1 | US20110075904A1 | US8861812 | WO2009110308A1
简单同族成员数量
12
简单同族被引用专利总数
44
诉讼案件数
0
法律状态/事件
权利终止 | 权利转移
抱歉,您的浏览器不支持PDF预览,请点击链接下载PDF文件