专利数据库
统计分析
产业报告
专利数据监控
产业人才
行业动态
产业政策法规
维权援助
个人中心
详情
文本
图像
标题
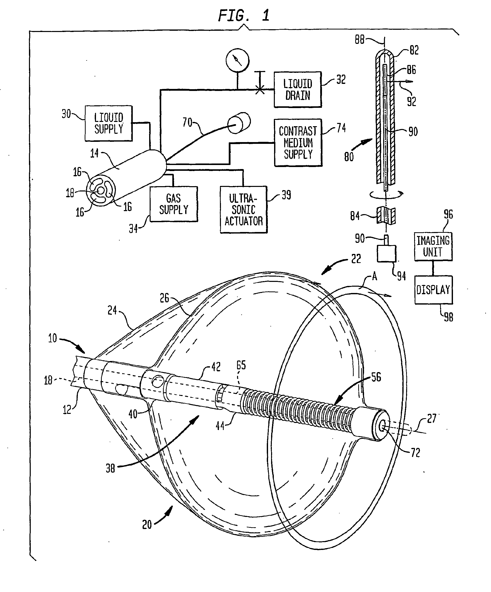
Ablation devices with ultrasonic imaging
授权日
2015-09-02
公开(公告)号
EP1802244B1
申请日
2005-10-14
公开(公告)日
2015-09-02
当前申请(专利权)人
KONINKLIJKE PHILIPS N.V.
发明人
WARNKING, REINHARD | SINELNIKOV, YEGOR
简单同族
EP1802244A2 | EP1802244A4 | EP1802244B1 | JP2008516689A | JP4792467B2 | US10123903 | US20080255449A1 | US20190053942A1 | WO2006044662A2 | WO2006044662A3
简单同族成员数量
10
简单同族被引用专利总数
51
诉讼案件数
0
法律状态/事件
授权 | 权利转移
抱歉,您的浏览器不支持PDF预览,请点击链接下载PDF文件