专利数据库
统计分析
产业报告
专利数据监控
产业人才
行业动态
产业政策法规
维权援助
个人中心
详情
文本
图像
标题
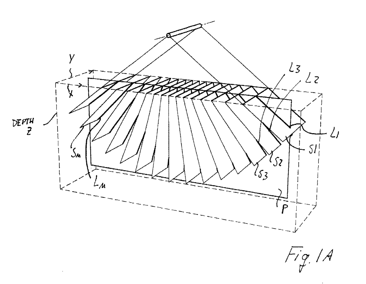
Method and apparatus for ultrasound imaging, particularly for three-dimensional imaging
授权日
1900-01-01
公开(公告)号
EP1167996A1
申请日
2001-05-30
公开(公告)日
2002-01-02
当前申请(专利权)人
ESAOTE S.P.A.
发明人
CEROFOLINI, MARINO
简单同族
EP1167996A1 | EP1167996B1 | IT1323678B1 | ITSV2000000027A1 | ITSV2000000027D0 | US20020016546A1 | US6572548
简单同族成员数量
7
简单同族被引用专利总数
78
诉讼案件数
0
法律状态/事件
授权 | 权利转移
抱歉,您的浏览器不支持PDF预览,请点击链接下载PDF文件