专利数据库
统计分析
产业报告
专利数据监控
产业人才
行业动态
产业政策法规
维权援助
个人中心
详情
文本
图像
标题
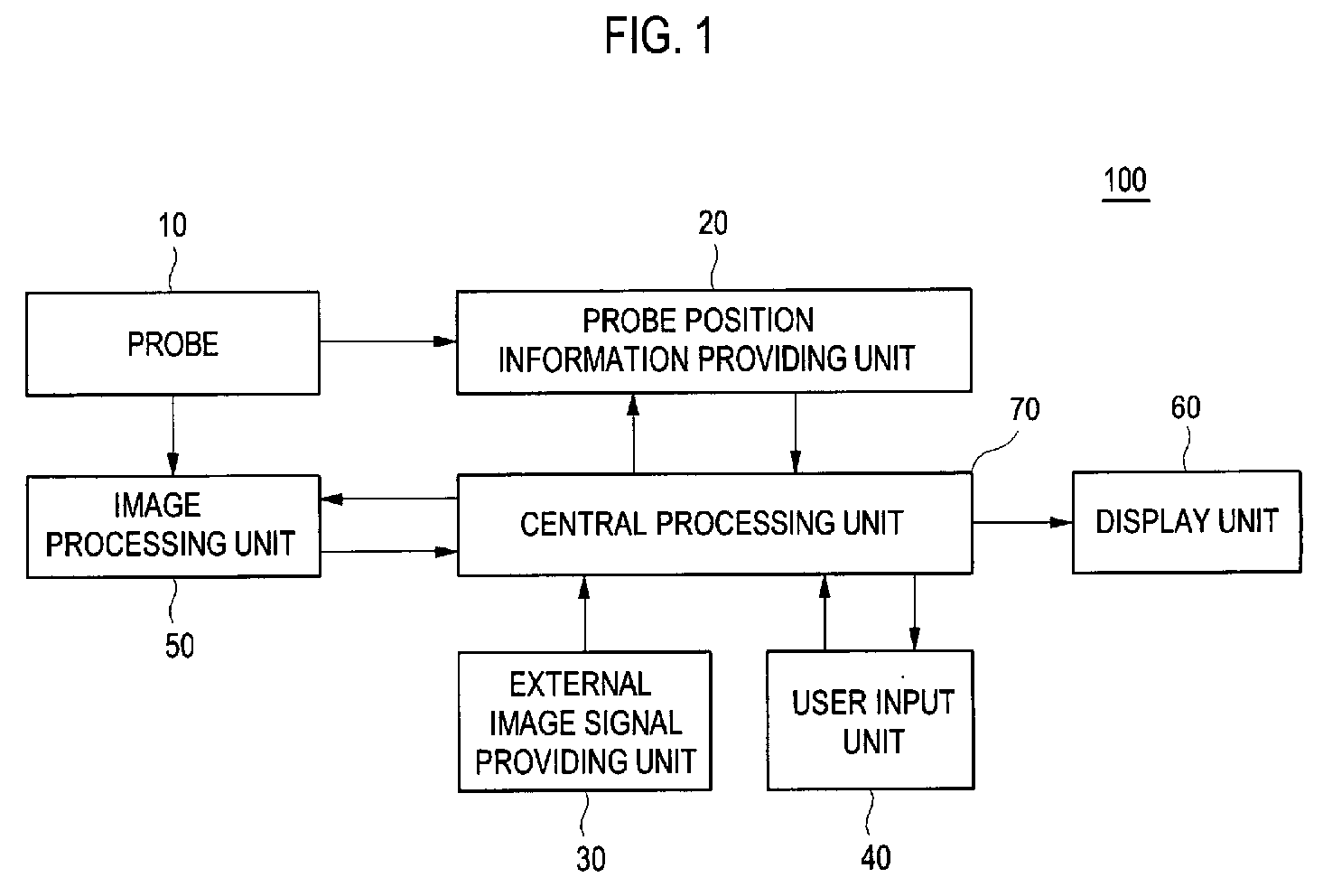
Ultrasound system for fusing an ultrasound image and an external medical image
授权日
1900-01-01
公开(公告)号
EP1913875A1
申请日
2007-10-16
公开(公告)日
2008-04-23
当前申请(专利权)人
MEDISON CO., LTD.
发明人
KIM, CHEOL AN | SHIN, SEONG CHUL
简单同族
DE602007011858D1 | EP1913875A1 | EP1913875B1 | JP2008100069A | JP5250234B2 | KR100971417B1 | KR1020080034664A | US20080091106A1
简单同族成员数量
8
简单同族被引用专利总数
54
诉讼案件数
0
法律状态/事件
授权
抱歉,您的浏览器不支持PDF预览,请点击链接下载PDF文件