专利数据库
统计分析
产业报告
专利数据监控
产业人才
行业动态
产业政策法规
维权援助
个人中心
详情
文本
图像
标题
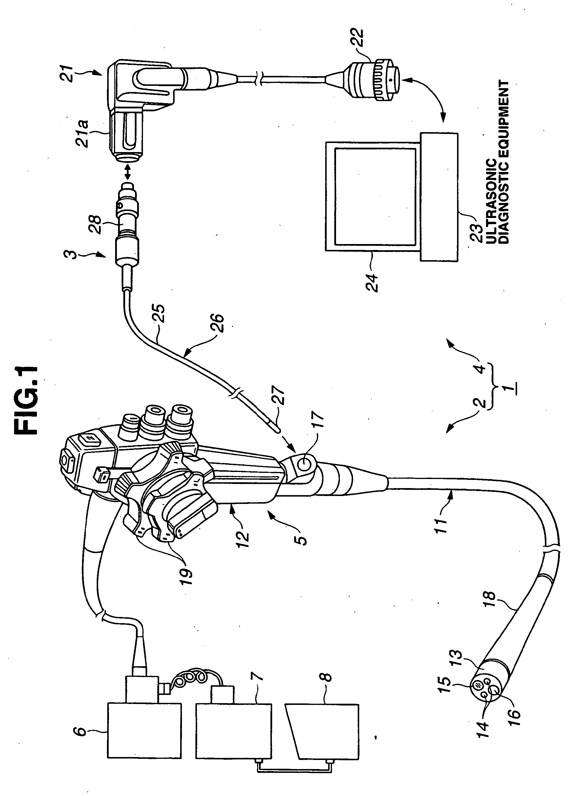
Electrostatic capacity type ultrasonic probe device
授权日
2011-08-03
公开(公告)号
EP1762182B1
申请日
2005-06-09
公开(公告)日
2011-08-03
当前申请(专利权)人
OLYMPUS CORPORATION
发明人
WAKABAYASHI, KATSUHIRO, C/O OLYMPUS CORPORATION | ADACHI, HIDEO C/O OLYMPUS CORPORATION | SAWADA, YUKIHIKO C/O OLYMPUS CORPORATION | IMAHASHI, TAKUYA C/O OLYMPUS CORPORATION | OMURA, MASAYOSHI (DECEASED), OMURA, ETSUKO (HEIR) | MIZUNUMA, AKIKO C/O OLYMPUS CORPORATION | OTANI, SHUJI C/O OLYMPUS CORPORATION | MURAKAMI, MIYUKI C/O OLYMPUS CORPORATION | NEMOTO, KIYOSHI C/O OLYMPUS CORPORATION | SUZUKI, KOZABURO C/O OLYMPUS CORPORATION | SHIMODA, NAOMI C/O OLYMPUS CORPORATION
简单同族
EP1762182A1 | EP1762182A4 | EP1762182B1 | JP4575372B2 | JPWO2005120360A1 | US20070167814A1 | US7892175 | WO2005120360A1
简单同族成员数量
8
简单同族被引用专利总数
88
诉讼案件数
0
法律状态/事件
授权
抱歉,您的浏览器不支持PDF预览,请点击链接下载PDF文件