专利数据库
统计分析
产业报告
专利数据监控
产业人才
行业动态
产业政策法规
维权援助
个人中心
详情
文本
图像
标题
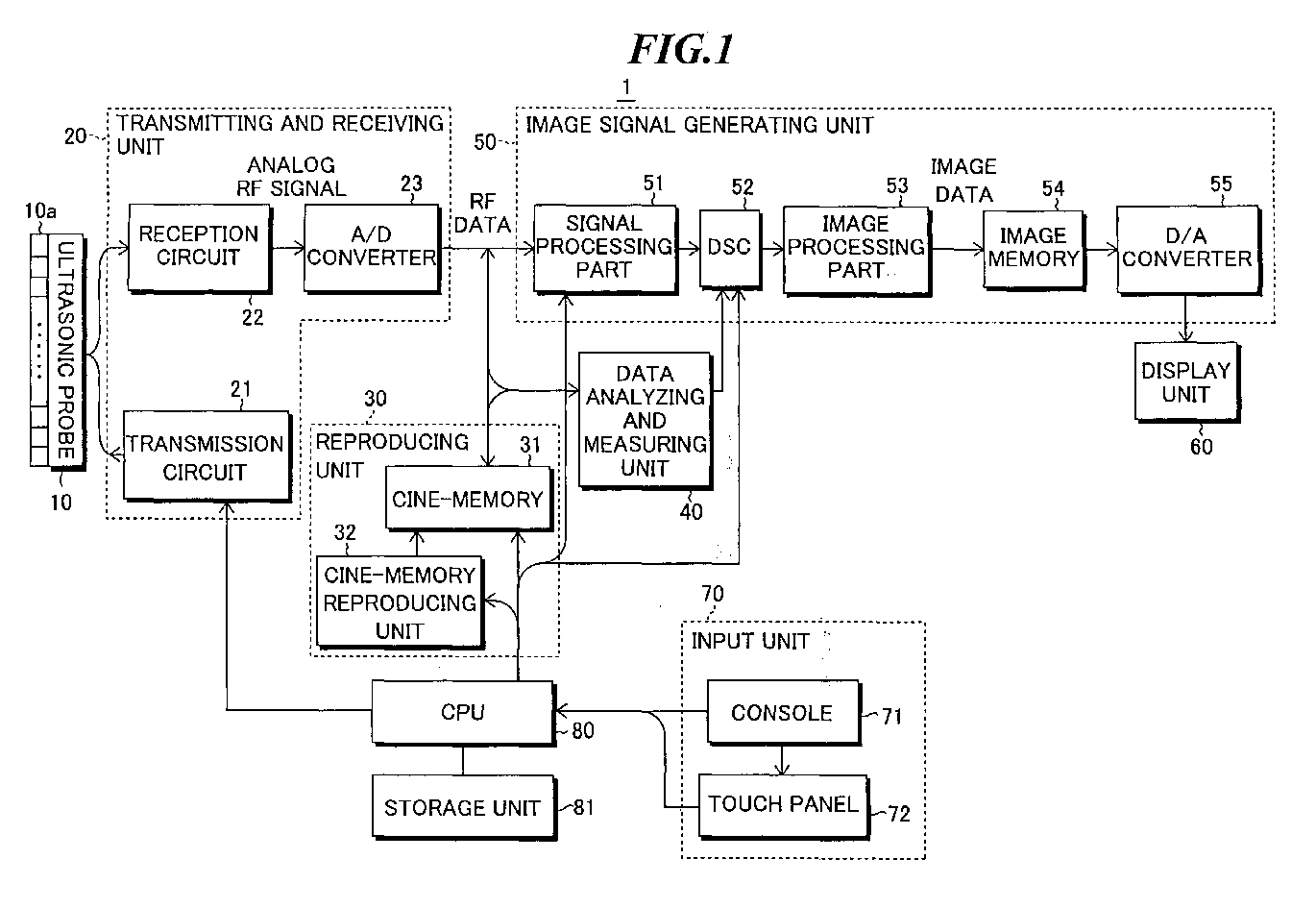
Ultrasonic diagnostic apparatus and data analysis and measurement apparatus
授权日
1900-01-01
公开(公告)号
EP1840594A3
申请日
2007-03-15
公开(公告)日
2011-01-12
当前申请(专利权)人
FUJIFILM CORPORATION
发明人
SATOH, YOSHIAKI
简单同族
EP1840594A2 | EP1840594A3 | EP1840594B1 | JP2007260129A | JP4713382B2 | US20070232925A1
简单同族成员数量
6
简单同族被引用专利总数
53
诉讼案件数
0
法律状态/事件
权利终止
抱歉,您的浏览器不支持PDF预览,请点击链接下载PDF文件