专利数据库
统计分析
产业报告
专利数据监控
产业人才
行业动态
产业政策法规
维权援助
个人中心
详情
文本
图像
标题
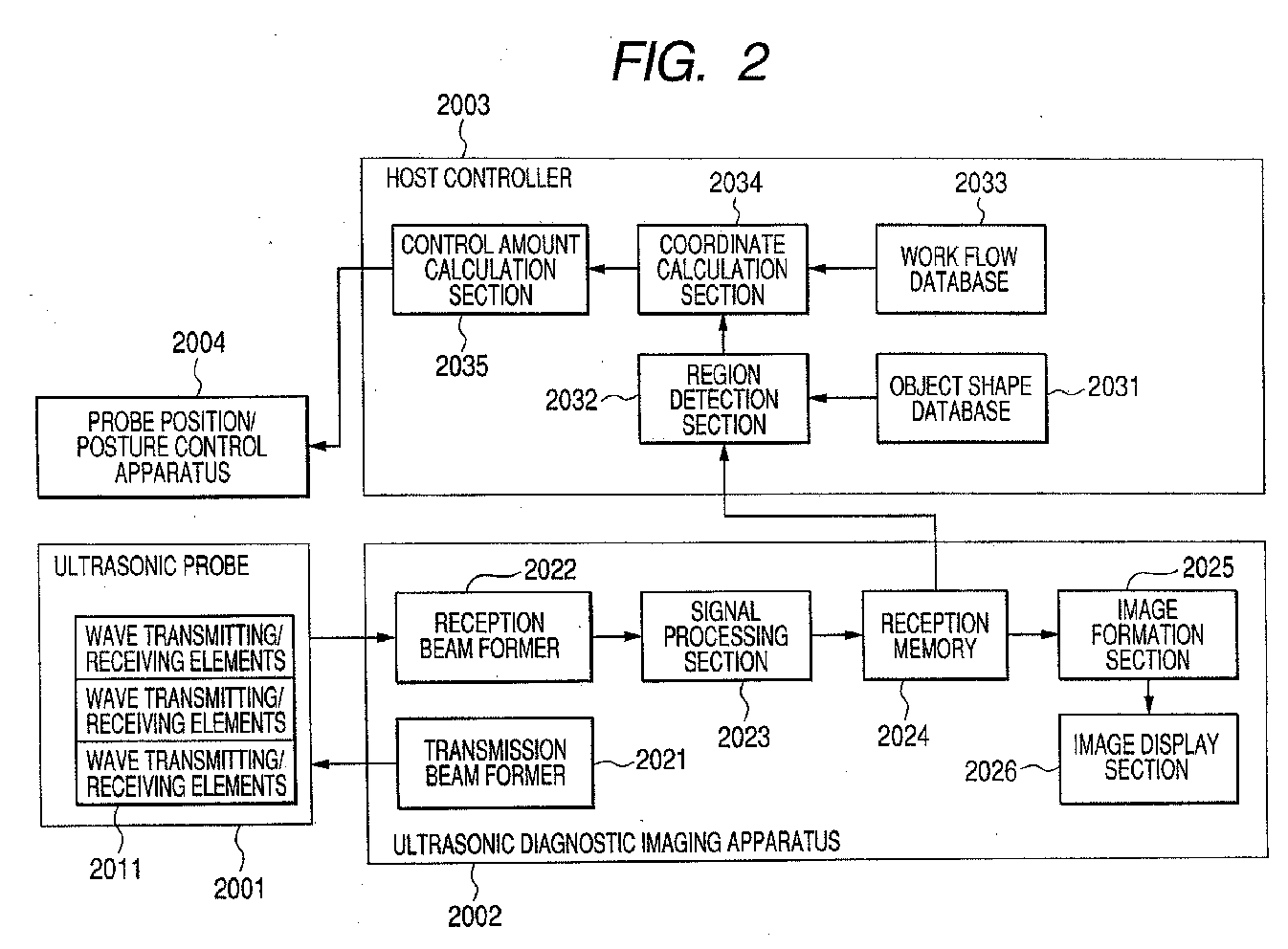
Ultrasonic diagnostic imaging system and control method thereof
授权日
1900-01-01
公开(公告)号
EP2567660A2
申请日
2008-08-13
公开(公告)日
2013-03-13
当前申请(专利权)人
CANON KABUSHIKI KAISHA
发明人
ISHIKAWA, RYO | KATAYAMA, AKIHIRO
简单同族
EP2185077A1 | EP2185077B1 | EP2567660A2 | EP2567660A3 | JP2009056125A | JP5127371B2 | US20110246129A1 | US20140228689A1 | US20150265254A1 | US8756033 | WO2009028354A1
简单同族成员数量
11
简单同族被引用专利总数
94
诉讼案件数
0
法律状态/事件
撤回
抱歉,您的浏览器不支持PDF预览,请点击链接下载PDF文件