专利数据库
统计分析
产业报告
专利数据监控
产业人才
行业动态
产业政策法规
维权援助
个人中心
详情
文本
图像
标题
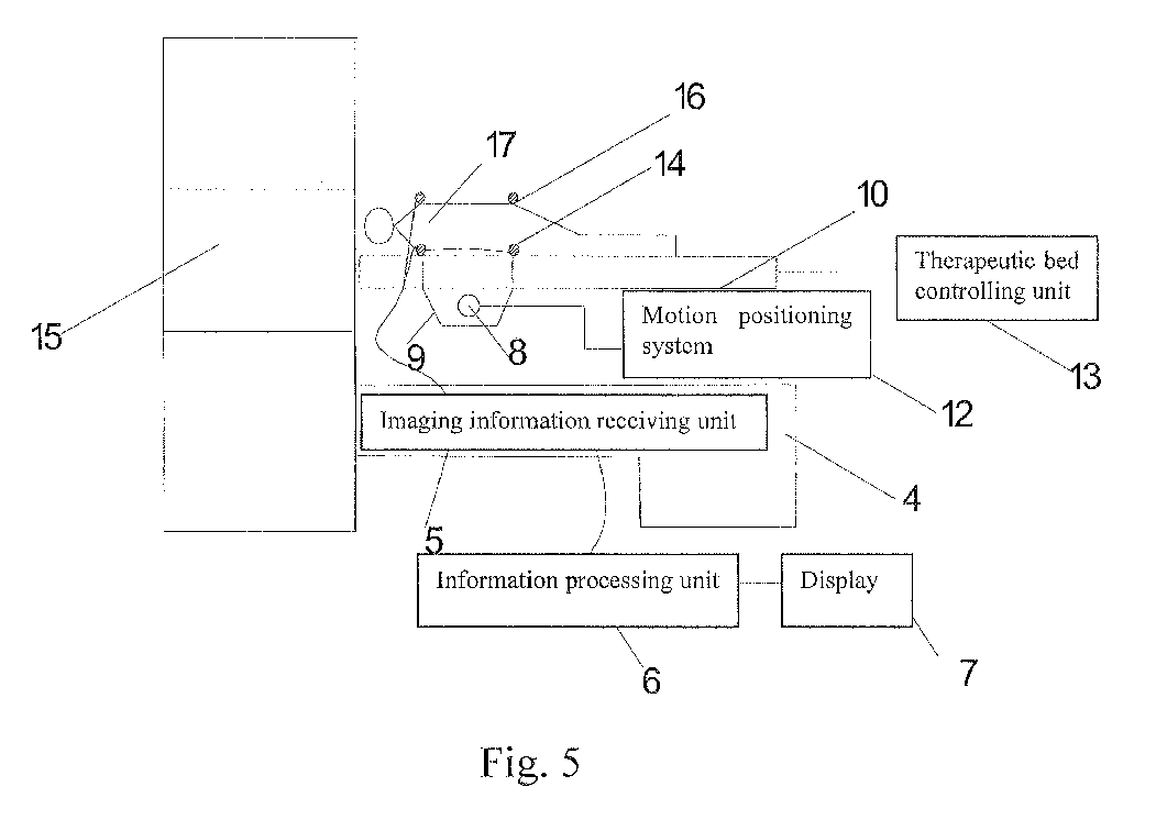
A high intensity focused ultrasound therapeutic system guided by an imaging device guided
授权日
1900-01-01
公开(公告)号
EP2058028A1
申请日
2007-02-13
公开(公告)日
2009-05-13
当前申请(专利权)人
CHONGQING RONGHAI MEDICAL ULTRASOUND INDUSTRY LTD.
发明人
WANG, HAI | WANG, LONG | ZHANG, LIAN | GU, YUE
简单同族
CN100574829C | CN101130126A | EP2058028A1 | EP2058028A4 | EP2058028B1 | JP2010501214A | US20100174188A1 | WO2008025190A1
简单同族成员数量
8
简单同族被引用专利总数
43
诉讼案件数
0
法律状态/事件
授权
抱歉,您的浏览器不支持PDF预览,请点击链接下载PDF文件