专利数据库
统计分析
产业报告
专利数据监控
产业人才
行业动态
产业政策法规
维权援助
个人中心
详情
文本
图像
标题
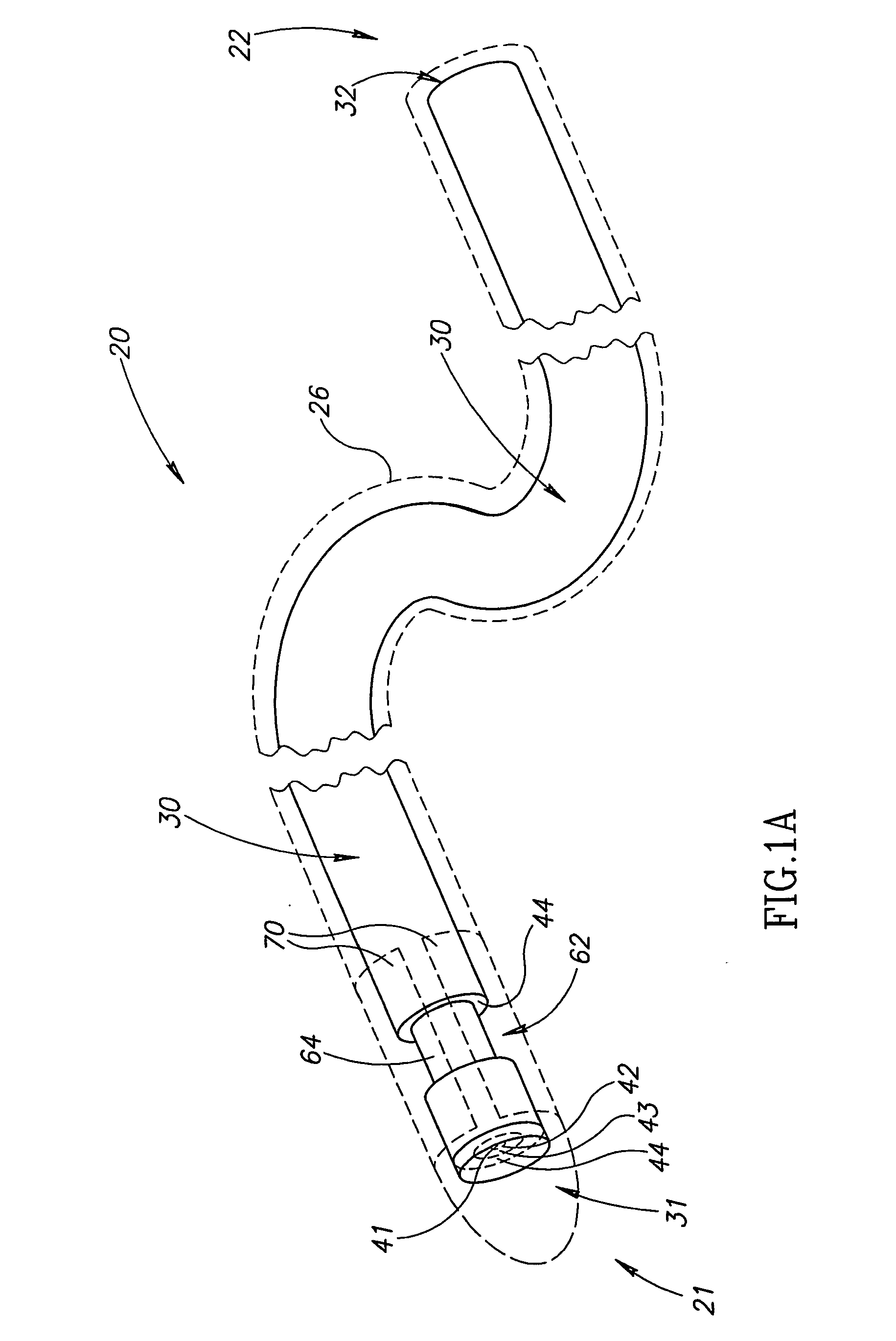
Intravascular ultrasound imaging device
授权日
2009-04-29
公开(公告)号
EP1811901B1
申请日
2004-09-19
公开(公告)日
2009-04-29
当前申请(专利权)人
BIOSCAN, LTD.
发明人
MATCOVITCH, AVRAM | KHACHATUROV, ARKADY | VOITSECHOV, YURY | BAR-LEV, ZVI | JAPHA, YONATHAN | HASSON, SALAH
简单同族
AT429857T | CA2580710A1 | DE602004020939D1 | EP1811901A1 | EP1811901B1 | ES2328147T3 | US20080114254A1 | WO2006030408A1
简单同族成员数量
8
简单同族被引用专利总数
95
诉讼案件数
0
法律状态/事件
权利终止
抱歉,您的浏览器不支持PDF预览,请点击链接下载PDF文件