专利数据库
统计分析
产业报告
专利数据监控
产业人才
行业动态
产业政策法规
维权援助
个人中心
详情
文本
图像
标题
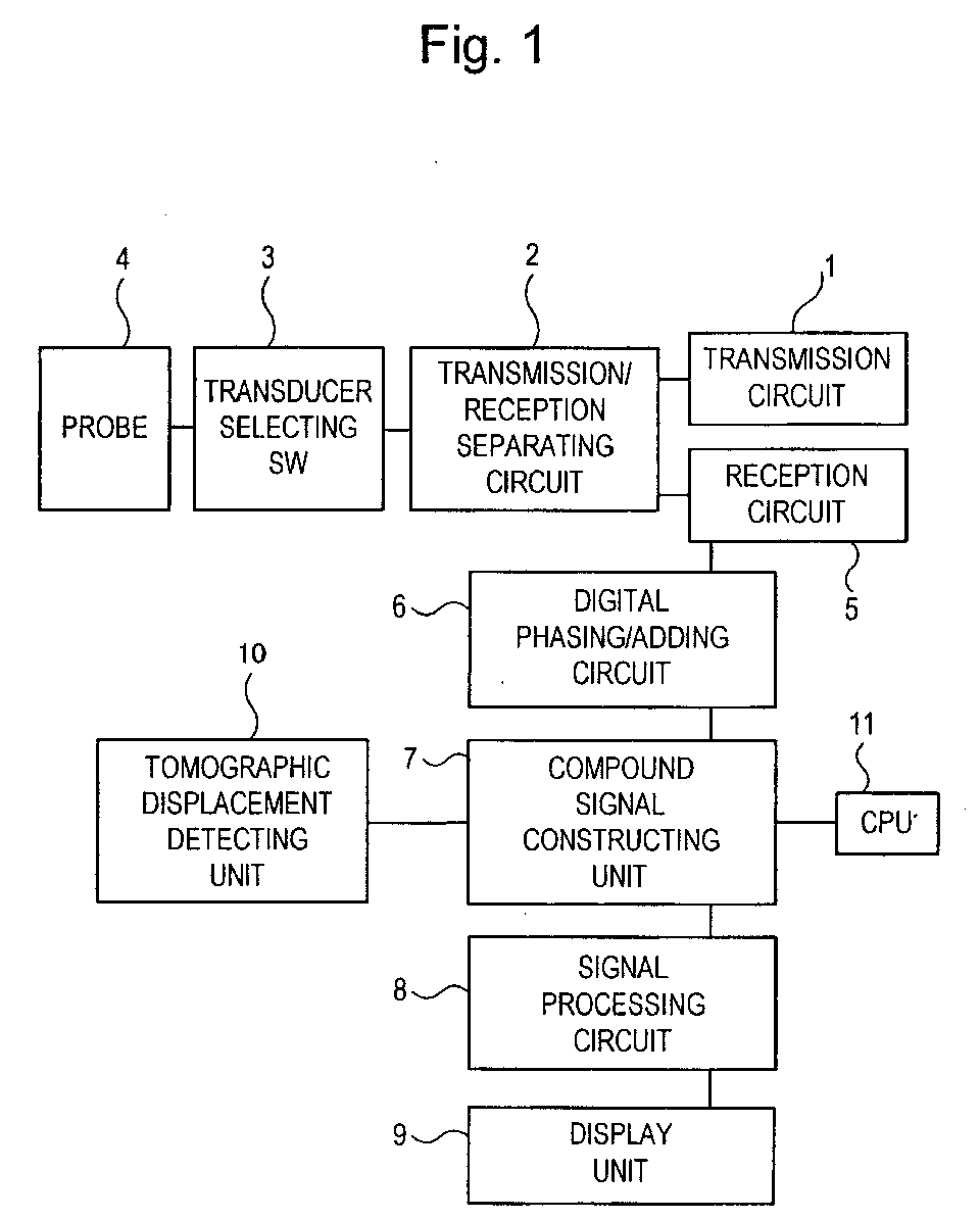
Ultrasonographic apparatus, ultrasonographic data processing method, and ultrasonographic data processing program
授权日
1900-01-01
公开(公告)号
EP1426010A1
申请日
2002-09-06
公开(公告)日
2004-06-09
当前申请(专利权)人
HITACHI MEDICAL CORPORATION
发明人
BABA, HIROTAKA | SATO, YUTAKA | SHINOMURA, RYUICHI | KUBOTA, JUN
简单同族
CN100518656C | CN1553785A | EP1426010A1 | EP1426010A4 | EP1426010B1 | JP2003070786A | JP4958348B2 | US20040210137A1 | US7828731 | WO2003022153A1
简单同族成员数量
10
简单同族被引用专利总数
90
诉讼案件数
0
法律状态/事件
授权
抱歉,您的浏览器不支持PDF预览,请点击链接下载PDF文件