专利数据库
统计分析
产业报告
专利数据监控
产业人才
行业动态
产业政策法规
维权援助
个人中心
详情
文本
图像
标题
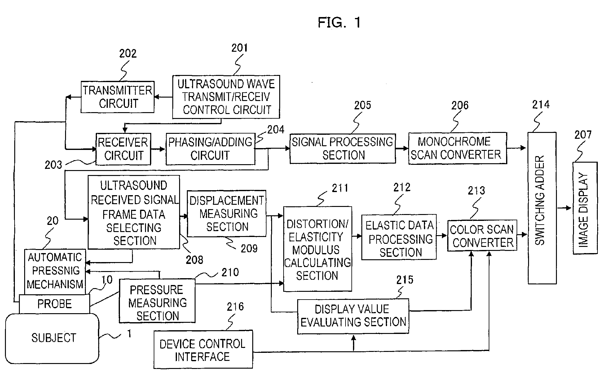
Ultrasound probe and ultrasound elasticity imaging apparatus
授权日
1900-01-01
公开(公告)号
EP2484287A1
申请日
2004-05-31
公开(公告)日
2012-08-08
当前申请(专利权)人
HITACHI, LTD.
发明人
OSAKA, TAKASHI | MATSUMURA, TAKESHI | HAYASHI, TETSUYA | OSHIKI, MITSUHIRO | YUASA, OKINORI | MURAYAMA, NAOYUKI | SHIINA, TSUYOSHI | TAMANO, SATOSHI | MITAKE, TSUYOSHI
简单同族
EP1629777A1 | EP1629777A4 | EP2481354A1 | EP2484287A1 | US20070032726A1 | US20090018444A1 | US20090149752A1 | US7914456 | US8007438 | US8974388 | WO2004105615A1
简单同族成员数量
11
简单同族被引用专利总数
126
诉讼案件数
0
法律状态/事件
实质审查 | 权利转移
抱歉,您的浏览器不支持PDF预览,请点击链接下载PDF文件