专利数据库
统计分析
产业报告
专利数据监控
产业人才
行业动态
产业政策法规
维权援助
个人中心
详情
文本
图像
标题
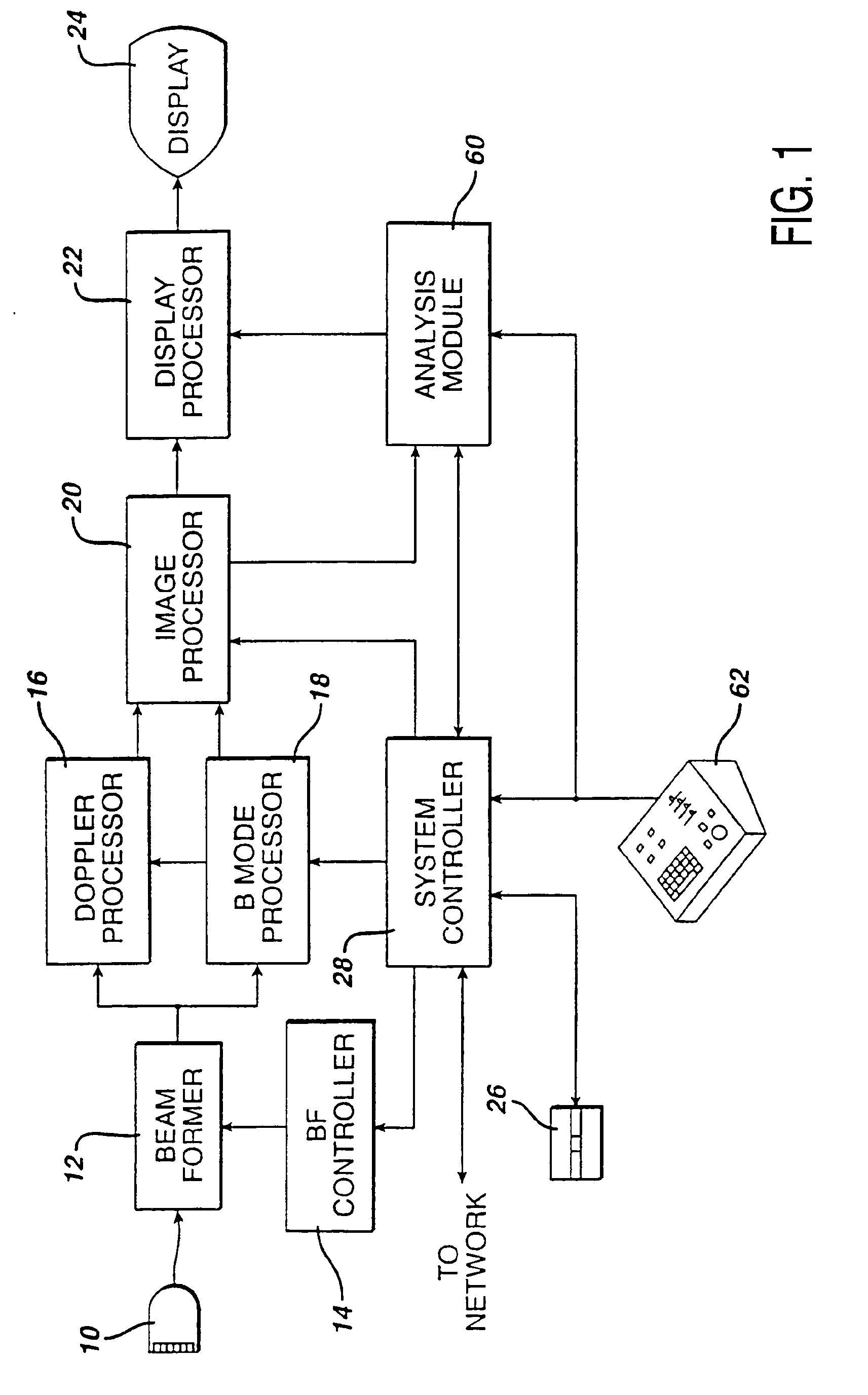
Ultrasonic diagnostic imaging system with customized measurements and calculations
授权日
2011-04-13
公开(公告)号
EP1141745B1
申请日
2000-09-15
公开(公告)日
2011-04-13
当前申请(专利权)人
KONINKLIJKE PHILIPS ELECTRONICS N.V.
发明人
COLEMAN, MICHAL | LAU, JACKIE, B. | LU, HAIYUAN | JONES, JESSE, D.
简单同族
DE60045836D1 | EP1141745A1 | EP1141745B1 | JP2003510145A | JP2012061353A | JP4943610B2 | JP5536025B2 | US6306089 | WO2001023905A1
简单同族成员数量
9
简单同族被引用专利总数
109
诉讼案件数
0
法律状态/事件
授权
抱歉,您的浏览器不支持PDF预览,请点击链接下载PDF文件