专利数据库
统计分析
产业报告
专利数据监控
产业人才
行业动态
产业政策法规
维权援助
个人中心
详情
文本
图像
标题
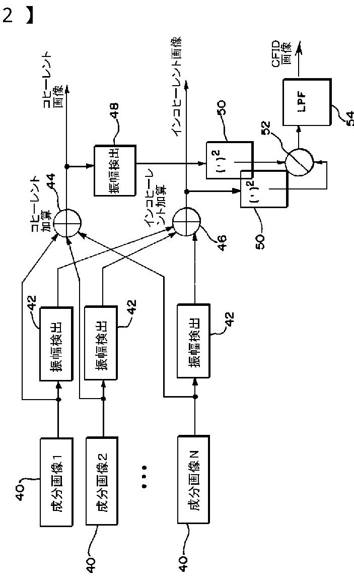
コヒーレンス度適応超音波撮像
授权日
1900-01-01
公开(公告)号
JP2006204923A
申请日
2006-01-27
公开(公告)日
2006-08-10
当前申请(专利权)人
シーメンス メディカル ソリューションズ ユーエスエー インコーポレイテッド
发明人
ディー-エル ドナルド リュウ | チャールズ イー ブラッドリー | ルイス ジェイ トーマス | ジョン シー ラゼンビー | クテイ エフ ウストゥナー
简单同族
CN1817309A | EP1686393A2 | JP2006204923A | KR1020060086821A | US20060173313A1
简单同族成员数量
5
简单同族被引用专利总数
90
诉讼案件数
0
法律状态/事件
撤回
抱歉,您的浏览器不支持PDF预览,请点击链接下载PDF文件