专利数据库
统计分析
产业报告
专利数据监控
产业人才
行业动态
产业政策法规
维权援助
个人中心
详情
文本
图像
标题
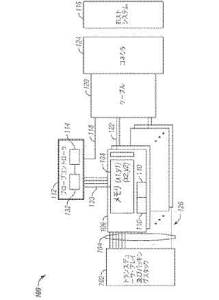
超音波プローブの分布型ビームフォーマ
授权日
1900-01-01
公开(公告)号
JP2005152629A
申请日
2004-11-19
公开(公告)日
2005-06-16
当前申请(专利权)人
ゼネラル·エレクトリック·カンパニイ
发明人
ゲイル·アルトヴェイト·ハウゲン | ペル·アルネ·リンネルッド | ケル·クリストファーセン
简单同族
FR2862520A1 | FR2862520B1 | JP2005152629A | JP5049462B2 | US20050113694A1 | US7527591
简单同族成员数量
6
简单同族被引用专利总数
79
诉讼案件数
0
法律状态/事件
授权
抱歉,您的浏览器不支持PDF预览,请点击链接下载PDF文件