专利数据库
统计分析
产业报告
专利数据监控
产业人才
行业动态
产业政策法规
维权援助
个人中心
详情
文本
图像
标题
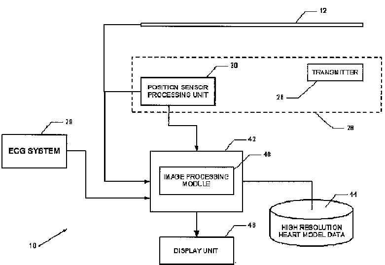
センサに案内されるカテーテル誘導システム
授权日
1900-01-01
公开(公告)号
JP2009511185A
申请日
2006-10-11
公开(公告)日
2009-03-19
当前申请(专利权)人
カーネギー-メロン ユニバーシティ | ユニバーシティ オブ ピッツバーグ オブ ザ コモンウェルス システム オブ ハイヤー エデュケイション
发明人
金出 武雄 | シュワーツマン,デーヴィッド | チョン,ファ
简单同族
AU2006302057A1 | AU2006302057B2 | CA2625162A1 | CA2625162C | EP1933710A1 | EP1933710A4 | EP1933710B1 | JP2009511185A | JP4972648B2 | US20090163810A1 | US20110257525A1 | US20130345555A1 | US20160256131A1 | US20170245936A1 | US20180192991A1 | US7981038 | US8480588 | US9017260 | US9566043 | US9861338 | WO2007044792A1 | WO2007044792A8
简单同族成员数量
22
简单同族被引用专利总数
123
诉讼案件数
0
法律状态/事件
授权 | 权利转移
抱歉,您的浏览器不支持PDF预览,请点击链接下载PDF文件