专利数据库
统计分析
产业报告
专利数据监控
产业人才
行业动态
产业政策法规
维权援助
个人中心
详情
文本
图像
标题
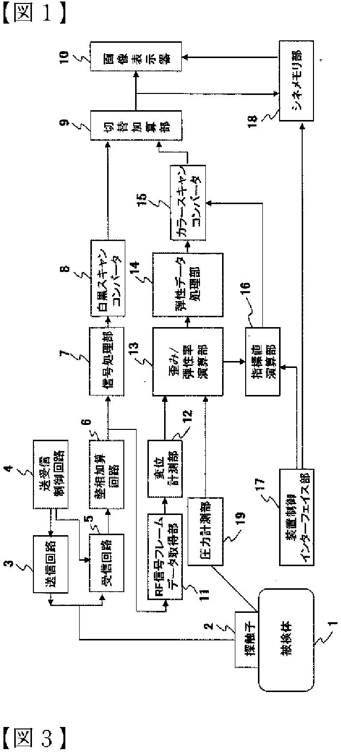
超音波診断装置及び超音波画像表示方法
授权日
1900-01-01
公开(公告)号
JPWO2006121031A1
申请日
2006-05-09
公开(公告)日
2008-12-18
当前申请(专利权)人
株式会社日立メディコ
发明人
松村 剛 | 河野 敏彦
简单同族
CN100544678C | CN101160099A | EP1880679A1 | EP1880679A4 | EP1880679B1 | JP5160227B2 | JPWO2006121031A1 | US20090216123A1 | US9060737 | WO2006121031A1
简单同族成员数量
10
简单同族被引用专利总数
64
诉讼案件数
0
法律状态/事件
授权 | 权利转移
抱歉,您的浏览器不支持PDF预览,请点击链接下载PDF文件