专利数据库
统计分析
产业报告
专利数据监控
产业人才
行业动态
产业政策法规
维权援助
个人中心
详情
文本
图像
标题
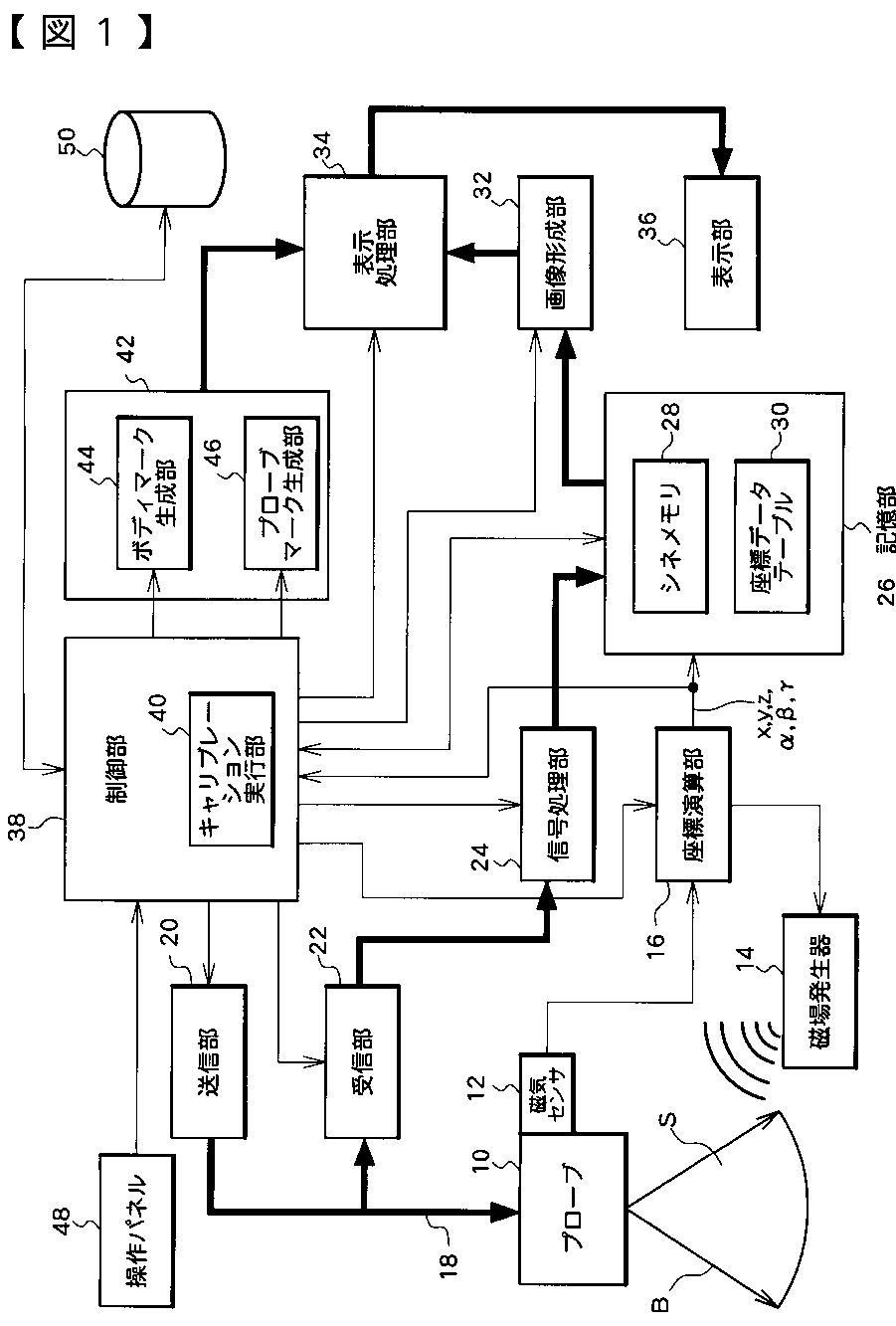
超音波診断装置
授权日
2008-08-08
公开(公告)号
JP4167162B2
申请日
2003-10-14
公开(公告)日
2008-10-15
当前申请(专利权)人
アロカ株式会社
发明人
大竹 章文
简单同族
CN1606966A | CN1606966B | EP1523940A1 | EP1523940B1 | JP2005118142A | JP4167162B2 | US20050090746A1
简单同族成员数量
7
简单同族被引用专利总数
100
诉讼案件数
0
法律状态/事件
未缴年费
抱歉,您的浏览器不支持PDF预览,请点击链接下载PDF文件