专利数据库
统计分析
产业报告
专利数据监控
产业人才
行业动态
产业政策法规
维权援助
个人中心
详情
文本
图像
标题
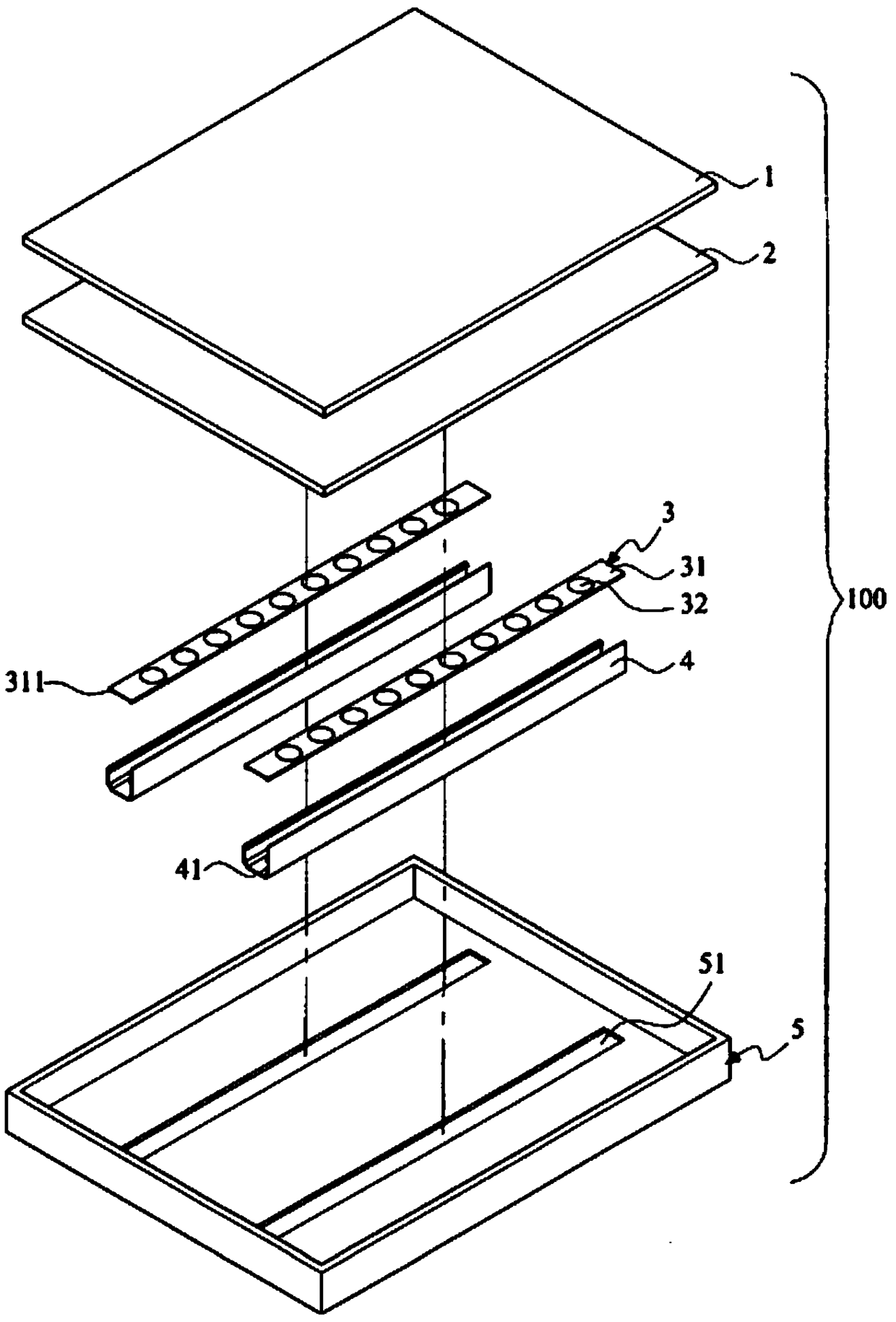
一种具有磁性背光源支撑结构的LCD显示设备
授权日
2015-01-07
公开(公告)号
CN204086764U
申请日
2014-10-23
公开(公告)日
2015-01-07
当前申请(专利权)人
北京众维和讯科技有限公司
发明人
尤亮
简单同族
CN204086764U
简单同族成员数量
1
简单同族被引用专利总数
0
诉讼案件数
0
法律状态/事件
未缴年费 | 权利转移
抱歉,您的浏览器不支持PDF预览,请点击链接下载PDF文件