专利数据库
统计分析
产业报告
专利数据监控
产业人才
行业动态
产业政策法规
维权援助
个人中心
详情
文本
图像
标题
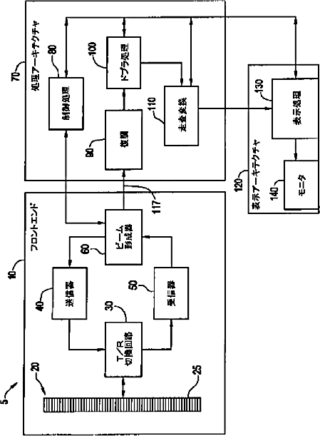
スペクトル·ドプラ·イメージングの自動制御のための方法及び装置
授权日
1900-01-01
公开(公告)号
JP2003245279A
申请日
2003-02-18
公开(公告)日
2003-09-02
当前申请(专利权)人
ジーイー·メディカル·システムズ·グローバル·テクノロジー·カンパニー·エルエルシー
发明人
リホン·パン | リチャード·クラコフスキー
简单同族
DE10306806A1 | JP2003245279A | JP4266659B2 | US20030158484A1 | US6663566
简单同族成员数量
5
简单同族被引用专利总数
78
诉讼案件数
0
法律状态/事件
授权
抱歉,您的浏览器不支持PDF预览,请点击链接下载PDF文件