专利数据库
统计分析
产业报告
专利数据监控
产业人才
行业动态
产业政策法规
维权援助
个人中心
详情
文本
图像
标题
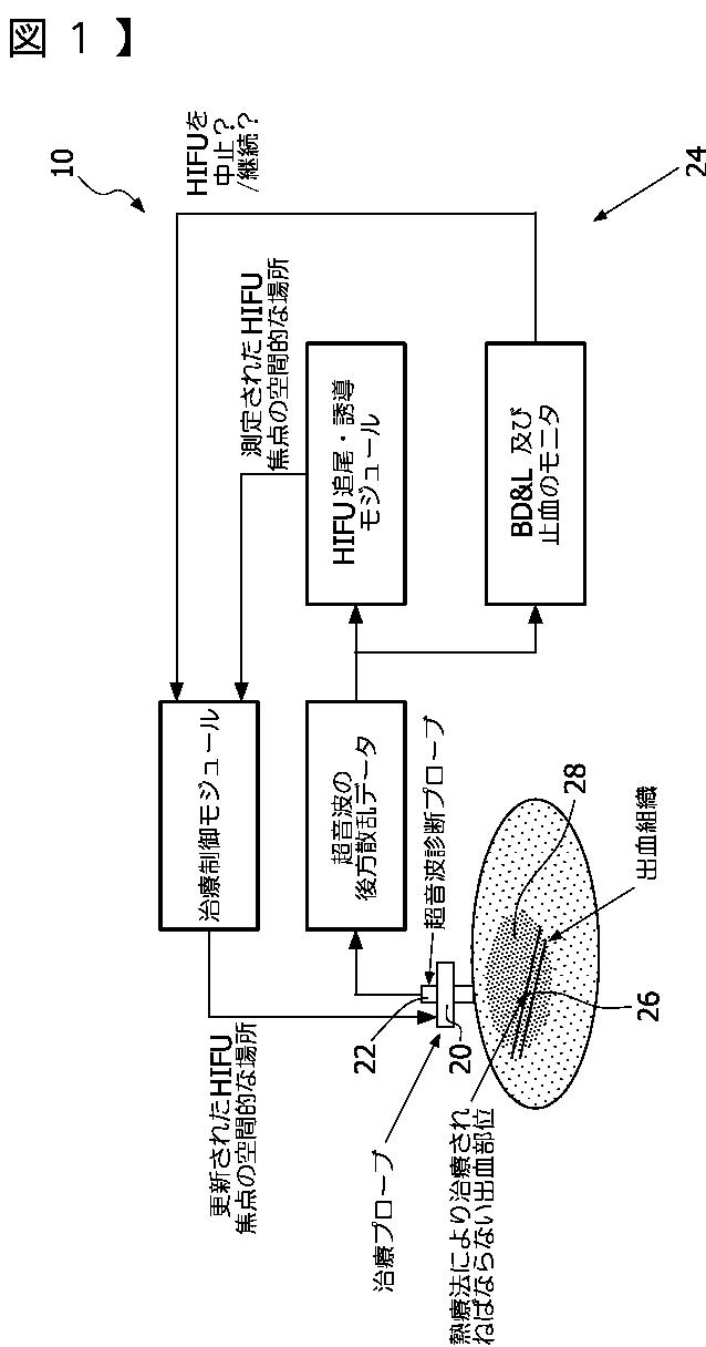
高密度集束超音波ビームを追尾し、誘導するシステム及び方法
授权日
2016-09-16
公开(公告)号
JP6006473B2
申请日
2008-12-17
公开(公告)日
2016-10-12
当前申请(专利权)人
コーニンクレッカ フィリップス エヌ ヴェ
发明人
アナンド アジャイ | ペトルツェッロ ジョン
简单同族
CN101902971A | CN101902971B | EP2240081A1 | JP2011507585A | JP2011507585A5 | JP6006473B2 | US20100274130A1 | US9420988 | WO2009081339A1
简单同族成员数量
9
简单同族被引用专利总数
82
诉讼案件数
0
法律状态/事件
授权
抱歉,您的浏览器不支持PDF预览,请点击链接下载PDF文件