专利数据库
统计分析
产业报告
专利数据监控
产业人才
行业动态
产业政策法规
维权援助
个人中心
详情
文本
图像
标题
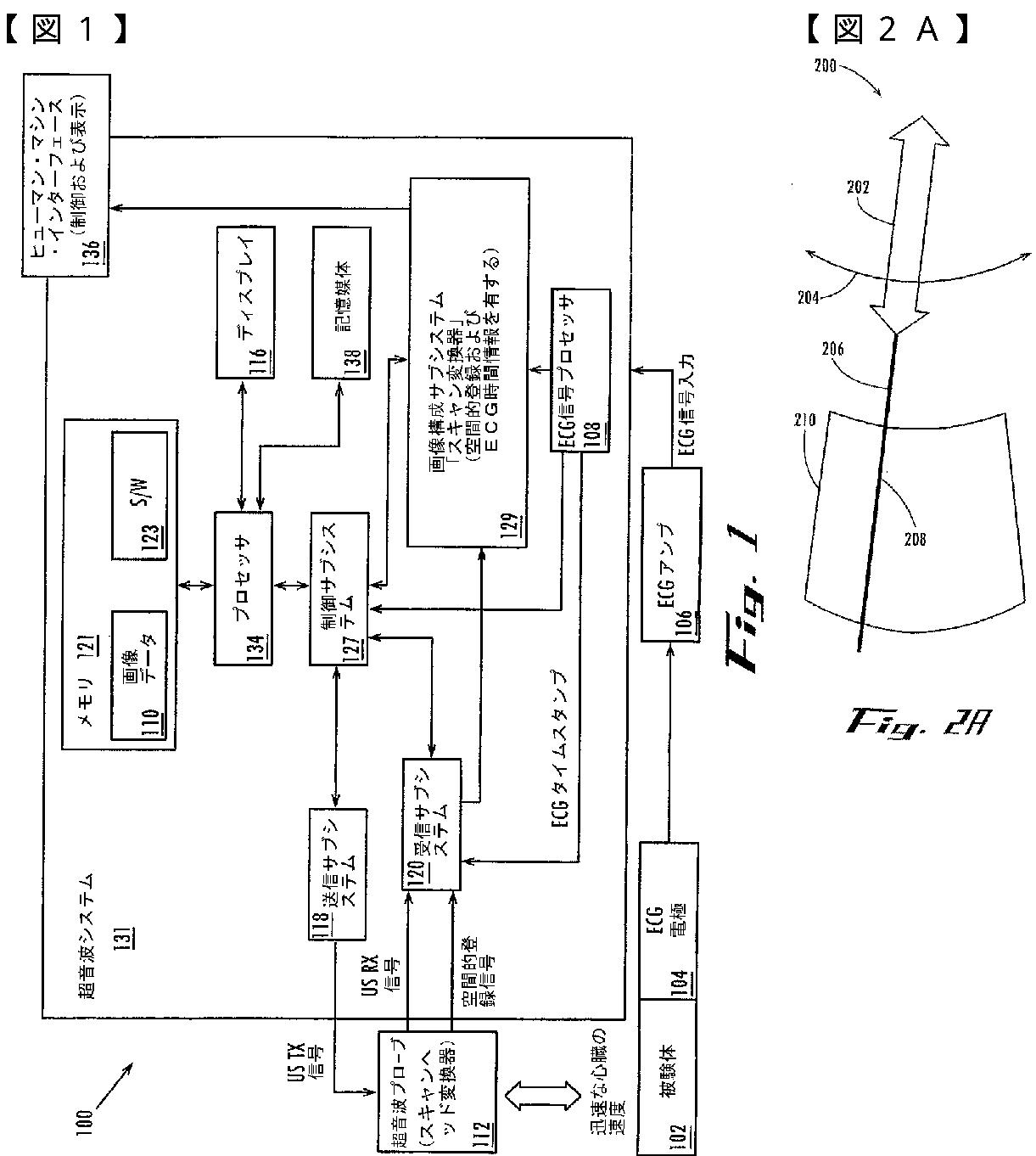
線ベースの画像再構成を用いて、超音波画像を生成するためのシステム
授权日
2011-08-19
公开(公告)号
JP4805140B2
申请日
2004-05-10
公开(公告)日
2011-11-02
当前申请(专利权)人
ビジュアルソニックス インコーポレイテッド
发明人
リュー, ゴドウィン | ホワイト, クリス アレクサンドル | ヘンドリクス, ランディー | フォスター, ステュワート | リトル, トム
简单同族
AT366944T | CA2525220A1 | CA2525220C | CN1833181A | CN1833181B | DE602004007520D1 | DE602004007520T2 | EP1642154A1 | EP1642154B1 | HK1089240A | JP2006525837A | JP2006525837A5 | JP2007268288A | JP2011172970A | JP4805140B2 | US20040236219A1 | US20060241448A1 | US7052460 | WO2004099814A1 | WO2004099814A8
简单同族成员数量
20
简单同族被引用专利总数
124
诉讼案件数
0
法律状态/事件
授权
抱歉,您的浏览器不支持PDF预览,请点击链接下载PDF文件