专利数据库
统计分析
产业报告
专利数据监控
产业人才
行业动态
产业政策法规
维权援助
个人中心
详情
文本
图像
标题
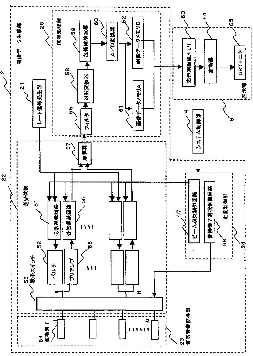
生体情報映像装置
授权日
2014-04-18
公开(公告)号
JP5525787B2
申请日
2009-09-14
公开(公告)日
2014-06-18
当前申请(专利权)人
株式会社東芝
发明人
金山 省一 | 逸見 和弘
简单同族
JP2010012295A | JP5525787B2
简单同族成员数量
2
简单同族被引用专利总数
99
诉讼案件数
0
法律状态/事件
授权 | 权利转移
抱歉,您的浏览器不支持PDF预览,请点击链接下载PDF文件