专利数据库
统计分析
产业报告
专利数据监控
产业人才
行业动态
产业政策法规
维权援助
个人中心
详情
文本
图像
标题
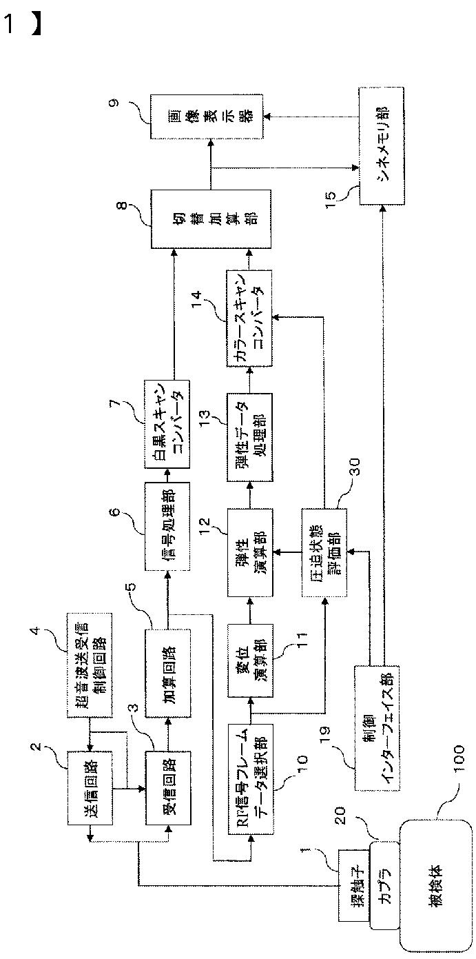
超音波診断装置
授权日
2013-08-02
公开(公告)号
JP5329533B2
申请日
2009-04-14
公开(公告)日
2013-10-30
当前申请(专利权)人
株式会社日立メディコ
发明人
松村 剛
简单同族
CN102014757A | CN102014757B | EP2281508A1 | EP2281508A4 | EP2281508B1 | JP5329533B2 | JPWO2009131029A1 | JPWO2009131029A5 | US20110040187A1 | US8845538 | WO2009131029A1
简单同族成员数量
11
简单同族被引用专利总数
39
诉讼案件数
0
法律状态/事件
未缴年费 | 权利转移
抱歉,您的浏览器不支持PDF预览,请点击链接下载PDF文件