专利数据库
统计分析
产业报告
专利数据监控
产业人才
行业动态
产业政策法规
维权援助
个人中心
详情
文本
图像
标题
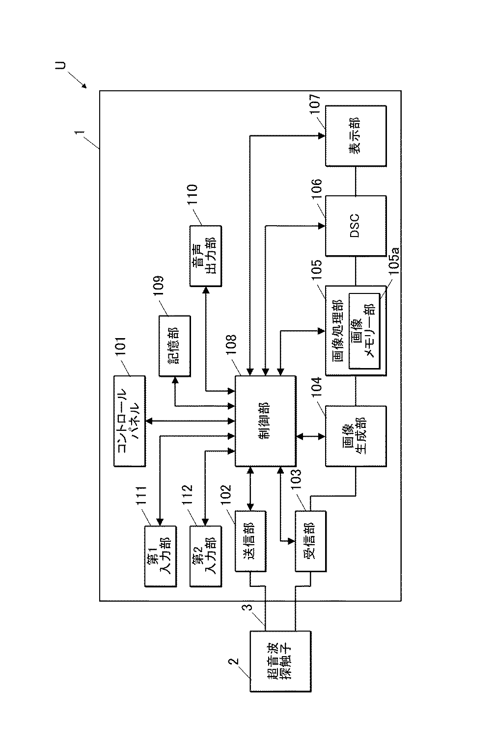
医用画像表示装置及び非接触入力方法
授权日
1900-01-01
公开(公告)号
JP2019130194A
申请日
2018-02-02
公开(公告)日
2019-08-08
当前申请(专利权)人
コニカミノルタ株式会社
发明人
田辺 悠介 | 酒井 崇 | 岡 敏夫
简单同族
JP2019130194A
简单同族成员数量
1
简单同族被引用专利总数
0
诉讼案件数
0
法律状态/事件
公开
抱歉,您的浏览器不支持PDF预览,请点击链接下载PDF文件