专利数据库
统计分析
产业报告
专利数据监控
产业人才
行业动态
产业政策法规
维权援助
个人中心
详情
文本
图像
标题
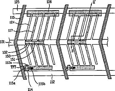
面内切换型液晶显示器件
授权日
2008-03-05
公开(公告)号
CN100373242C
申请日
2004-11-15
公开(公告)日
2008-03-05
当前申请(专利权)人
乐金显示有限公司
发明人
高斗炫
简单同族
CN100373242C | CN1637545A | JP2005196162A | TW200521544A | TWI290648B | US20050140899A1 | US7295275
简单同族成员数量
7
简单同族被引用专利总数
57
诉讼案件数
0
法律状态/事件
授权
抱歉,您的浏览器不支持PDF预览,请点击链接下载PDF文件