专利数据库
统计分析
产业报告
专利数据监控
产业人才
行业动态
产业政策法规
维权援助
个人中心
详情
文本
图像
标题
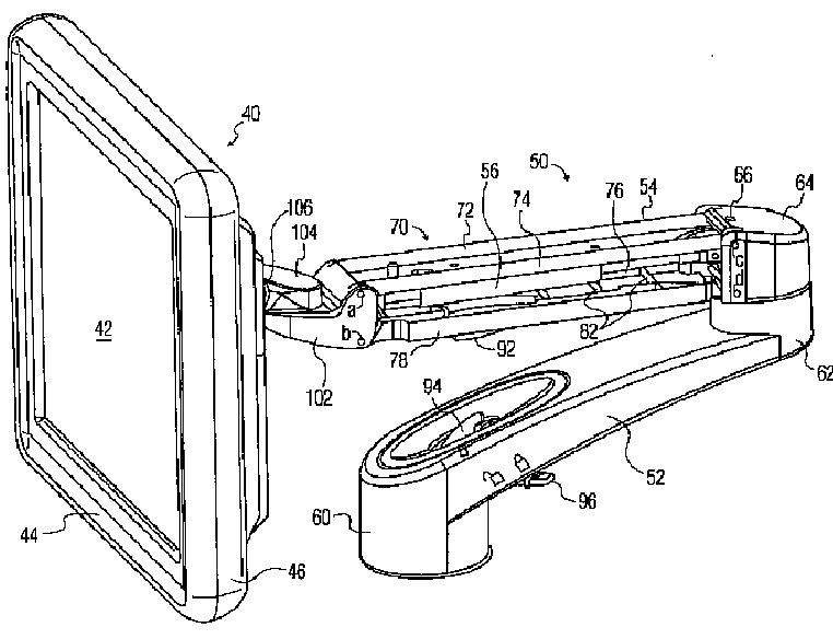
連接フラットパネルディスプレイを有する診断超音波システム
授权日
1900-01-01
公开(公告)号
JP2007520304A
申请日
2005-01-31
公开(公告)日
2007-07-26
当前申请(专利权)人
コーニンクレッカ フィリップス エレクトロニクス エヌ ヴィ
发明人
マルコウスキ,ジョン | メサロス,ロバート | アザーノ,ラリー
简单同族
AT517579T | CN100506165C | CN1917815A | EP1713396A1 | EP1713396B1 | JP2007520304A | JP4639198B2 | US20080234577A1 | WO2005074806A1
简单同族成员数量
9
简单同族被引用专利总数
83
诉讼案件数
0
法律状态/事件
授权
抱歉,您的浏览器不支持PDF预览,请点击链接下载PDF文件