专利数据库
统计分析
产业报告
专利数据监控
产业人才
行业动态
产业政策法规
维权援助
个人中心
详情
文本
图像
标题
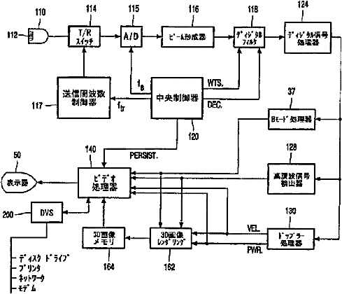
ディジタルビデオレコーダを備えた超音波診断撮像システム
授权日
1900-01-01
公开(公告)号
JP2002538863A
申请日
2000-02-14
公开(公告)日
2002-11-19
当前申请(专利权)人
コーニンクレッカ フィリップス エレクトロニクス エヌ ヴィ
发明人
ネグリン アイルブ ディー | リッチボールグ ジャック エッチ
简单同族
EP1078534A1 | JP2002538863A | US6231510 | WO2000054517A1
简单同族成员数量
4
简单同族被引用专利总数
50
诉讼案件数
0
法律状态/事件
撤回
抱歉,您的浏览器不支持PDF预览,请点击链接下载PDF文件