专利数据库
统计分析
产业报告
专利数据监控
产业人才
行业动态
产业政策法规
维权援助
个人中心
详情
文本
图像
标题
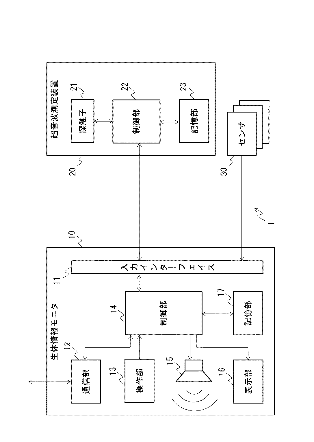
生体情報モニタ、生体情報測定システム、及びプログラム
授权日
1900-01-01
公开(公告)号
JP2018158273A
申请日
2018-07-24
公开(公告)日
2018-10-11
当前申请(专利权)人
日本光電工業株式会社
发明人
大浦 光宏 | 熊谷 壮祐 | 松沢 航 | 小林 直樹 | 佐野 宙人 | 森 崇 | 安丸 信行 | 永瀬 和哉
简单同族
JP2018158273A
简单同族成员数量
1
简单同族被引用专利总数
0
诉讼案件数
0
法律状态/事件
实质审查
抱歉,您的浏览器不支持PDF预览,请点击链接下载PDF文件