专利数据库
统计分析
产业报告
专利数据监控
产业人才
行业动态
产业政策法规
维权援助
个人中心
详情
文本
图像
标题
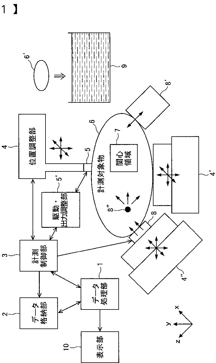
変位計測方法及び装置、並びに、超音波診断装置
授权日
2014-12-19
公开(公告)号
JP5665040B2
申请日
2010-06-25
公开(公告)日
2015-02-04
当前申请(专利权)人
学校法人上智学院
发明人
炭 親良
简单同族
JP2011078744A | JP2015042344A | JP5665040B2 | JP5979682B2 | US20110172538A1 | US20150112185A1 | US20170311930A1 | US8956297 | US9993228
简单同族成员数量
9
简单同族被引用专利总数
50
诉讼案件数
0
法律状态/事件
授权
抱歉,您的浏览器不支持PDF预览,请点击链接下载PDF文件