专利数据库
统计分析
产业报告
专利数据监控
产业人才
行业动态
产业政策法规
维权援助
个人中心
详情
文本
图像
标题
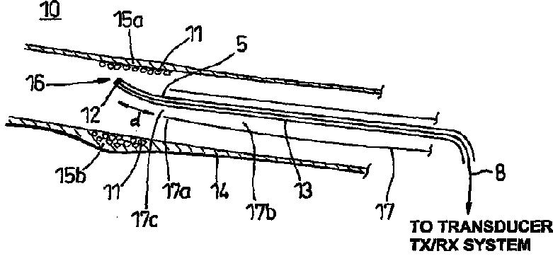
血管内超音波技術
授权日
1900-01-01
公开(公告)号
JP2008508970A
申请日
2005-08-11
公开(公告)日
2008-03-27
当前申请(专利权)人
スティチティング ボア デ テクニシェ ウェテンスハペン
发明人
バン デル ステン,アントニウス フランシスクス ウィルヘルムス | ゴエルツ,ディビッド エリック | フリジリンク,マーティジン エグバート
简单同族
AT552782T | EP1793741A1 | EP1793741B1 | GB0418118D0 | GB0806499D0 | GB2417080A | GB2417080B | GB2445322A | GB2445322B | JP2008508970A | JP2008508970A5 | JP5103180B2 | US20080200815A1 | US8454520 | WO2006015876A2 | WO2006015877A1
简单同族成员数量
16
简单同族被引用专利总数
101
诉讼案件数
0
法律状态/事件
授权
抱歉,您的浏览器不支持PDF预览,请点击链接下载PDF文件