专利数据库
统计分析
产业报告
专利数据监控
产业人才
行业动态
产业政策法规
维权援助
个人中心
详情
文本
图像
标题
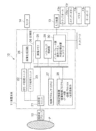
超音波診断装置及び画像処理装置
授权日
1900-01-01
公开(公告)号
JP2004321688A
申请日
2003-04-28
公开(公告)日
2004-11-18
当前申请(专利权)人
株式会社東芝
发明人
神山 直久
简单同族
CN100381106C | CN1550217A | EP1472981A1 | EP1820452A1 | EP1820452B1 | JP2004321688A | JP2004321688A5 | JP4373699B2 | US20040215076A1 | US20080058646A1 | US20110004097A1 | US7302850 | US7886603 | US8499636
简单同族成员数量
14
简单同族被引用专利总数
100
诉讼案件数
0
法律状态/事件
授权 | 权利转移
抱歉,您的浏览器不支持PDF预览,请点击链接下载PDF文件