专利数据库
统计分析
产业报告
专利数据监控
产业人才
行业动态
产业政策法规
维权援助
个人中心
详情
文本
图像
标题
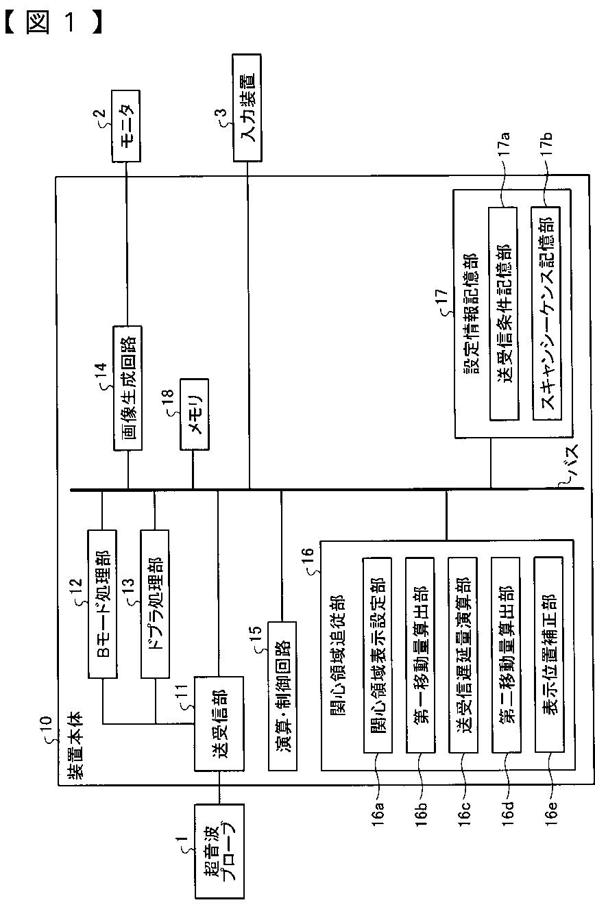
超音波診断装置および画像表示プログラム
授权日
2013-10-04
公开(公告)号
JP5376877B2
申请日
2008-09-17
公开(公告)日
2013-12-25
当前申请(专利权)人
株式会社東芝 | 東芝メディカルシステムズ株式会社
发明人
小笠原 洋一 | 大森 慈浩 | 赤木 和哉 | 中嶋 修
简单同族
CN101675887A | CN101675887B | JP2010068904A | JP5376877B2 | US20100069756A1 | US8945012
简单同族成员数量
6
简单同族被引用专利总数
48
诉讼案件数
0
法律状态/事件
授权 | 权利转移
抱歉,您的浏览器不支持PDF预览,请点击链接下载PDF文件