专利数据库
统计分析
产业报告
专利数据监控
产业人才
行业动态
产业政策法规
维权援助
个人中心
详情
文本
图像
标题
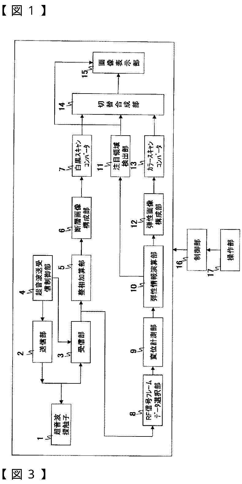
超音波診断装置
授权日
2014-02-21
公开(公告)号
JP5479353B2
申请日
2009-10-13
公开(公告)日
2014-04-23
当前申请(专利权)人
株式会社日立メディコ
发明人
外村 明子 | 飯村 隆志
简单同族
JP5479353B2 | JPWO2010044385A1 | JPWO2010044385A5 | US20110194748A1 | WO2010044385A1
简单同族成员数量
5
简单同族被引用专利总数
44
诉讼案件数
0
法律状态/事件
未缴年费 | 权利转移
抱歉,您的浏览器不支持PDF预览,请点击链接下载PDF文件