专利数据库
统计分析
产业报告
专利数据监控
产业人才
行业动态
产业政策法规
维权援助
个人中心
详情
文本
图像
标题
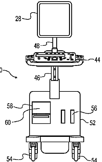
ドッキングステーションを備えた可搬式超音波診断撮像システム
授权日
1900-01-01
公开(公告)号
JP2008536601A
申请日
2006-03-31
公开(公告)日
2008-09-11
当前申请(专利权)人
コーニンクレッカ フィリップス エレクトロニクス エヌ ヴィ
发明人
ポーランド,マッキー ダン
简单同族
CN101163986A | EP1875270A1 | JP2008536601A | US20080161688A1 | WO2006111871A1
简单同族成员数量
5
简单同族被引用专利总数
74
诉讼案件数
0
法律状态/事件
撤回
抱歉,您的浏览器不支持PDF预览,请点击链接下载PDF文件