专利数据库
统计分析
产业报告
专利数据监控
产业人才
行业动态
产业政策法规
维权援助
个人中心
详情
文本
图像
标题
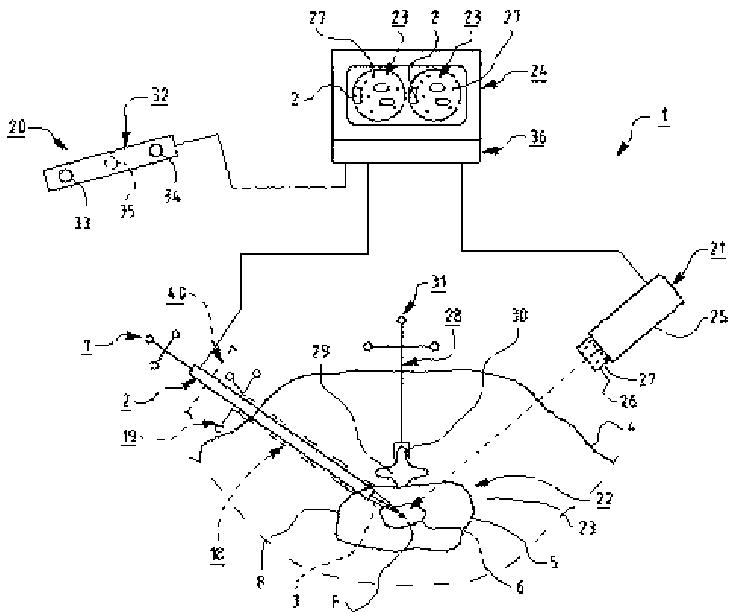
椎間板疾患を極小侵襲超音波治療するための装置
授权日
1900-01-01
公开(公告)号
JP2004503345A
申请日
2001-07-16
公开(公告)日
2004-02-05
当前申请(专利权)人
ウルトラゾニックス ディーエヌティー アクチボラゲット
发明人
リドグレン,ラーズ-エーク-アルバー
简单同族
AT304393T | AU2001271208A1 | AU2001271208B2 | CA2415828A1 | CN1283330C | CN1443084A | DE60113424D1 | DE60113424T2 | DK1301244T3 | EP1301244A1 | EP1301244B1 | ES2249453T3 | HU0303687A2 | HU226333B1 | IL153966A | IL153966D0 | JP2004503345A | JP2004503345A5 | KR100867311B1 | KR1020030016412A | MXPA03000456A | NO20030071D0 | NO20030071L | PL359363A1 | RU2003101107A | RU2270707C2 | SE0002678D0 | SE0002678L | SE518764C2 | US20030163067A1 | US7883481 | WO2002005897A1
简单同族成员数量
32
简单同族被引用专利总数
82
诉讼案件数
0
法律状态/事件
驳回
抱歉,您的浏览器不支持PDF预览,请点击链接下载PDF文件