专利数据库
统计分析
产业报告
专利数据监控
产业人才
行业动态
产业政策法规
维权援助
个人中心
详情
文本
图像
标题
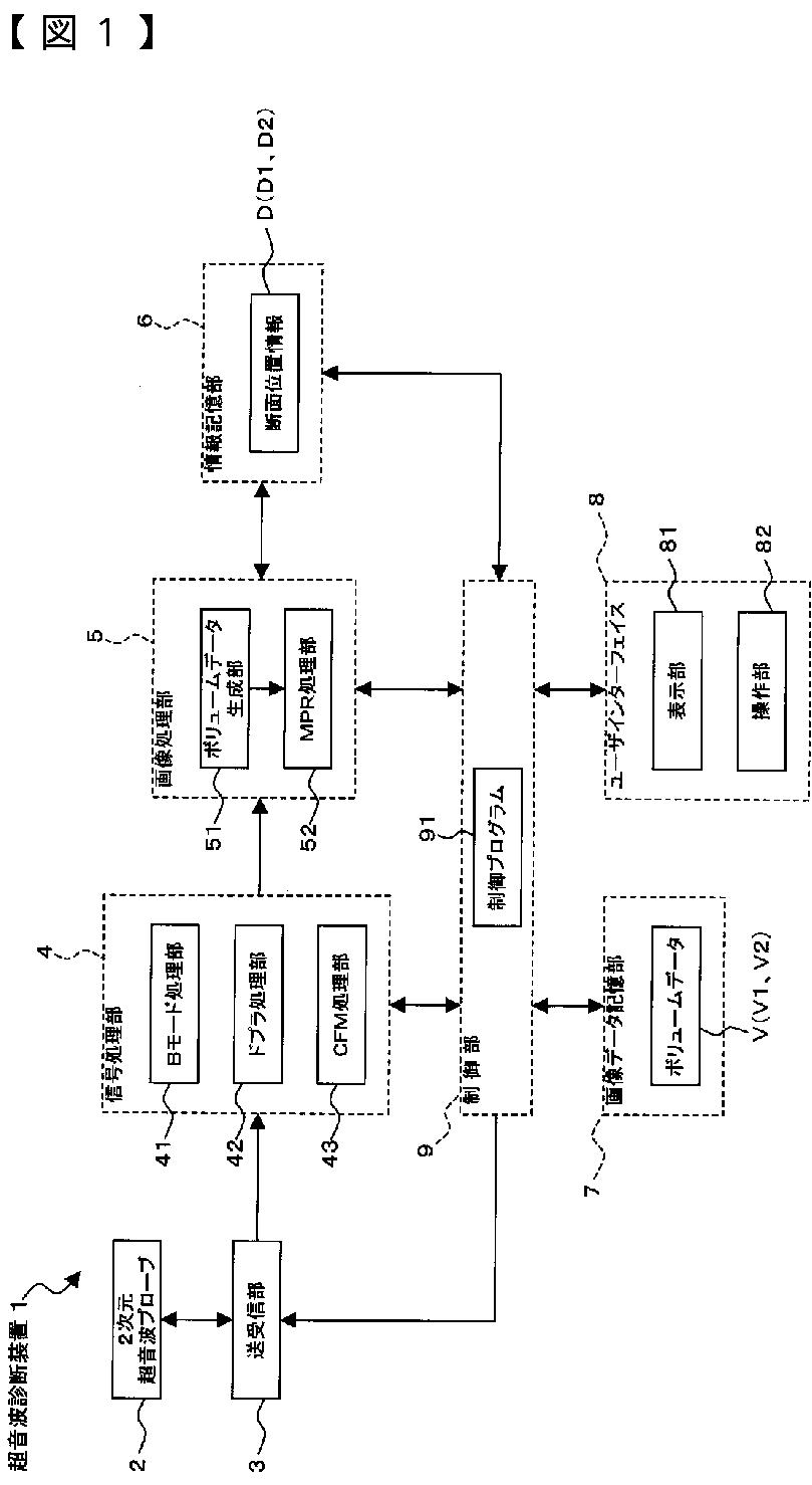
超音波診断装置、医用画像処理装置及びプログラム
授权日
2012-12-07
公开(公告)号
JP5148094B2
申请日
2006-09-27
公开(公告)日
2013-02-20
当前申请(专利权)人
株式会社東芝 | 東芝メディカルシステムズ株式会社
发明人
川岸 哲也 | 阿部 康彦 | 橋本 新一 | 潟口 宗基
简单同族
CN101152096A | CN101152096B | JP2008079805A | JP5148094B2 | US20080077013A1 | US8454514
简单同族成员数量
6
简单同族被引用专利总数
87
诉讼案件数
0
法律状态/事件
授权 | 权利转移
抱歉,您的浏览器不支持PDF预览,请点击链接下载PDF文件