专利数据库
统计分析
产业报告
专利数据监控
产业人才
行业动态
产业政策法规
维权援助
个人中心
详情
文本
图像
标题
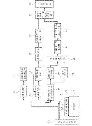
超音波探触子及び超音波診断装置
授权日
1900-01-01
公开(公告)号
JP2005066041A
申请日
2003-08-25
公开(公告)日
2005-03-17
当前申请(专利权)人
株式会社日立メディコ
发明人
松村 剛 | 玉野 聡 | 三竹 毅 | 椎名 毅
简单同族
JP2005066041A | JP2005066041A5
简单同族成员数量
2
简单同族被引用专利总数
91
诉讼案件数
0
法律状态/事件
驳回
抱歉,您的浏览器不支持PDF预览,请点击链接下载PDF文件