专利数据库
统计分析
产业报告
专利数据监控
产业人才
行业动态
产业政策法规
维权援助
个人中心
详情
文本
图像
标题
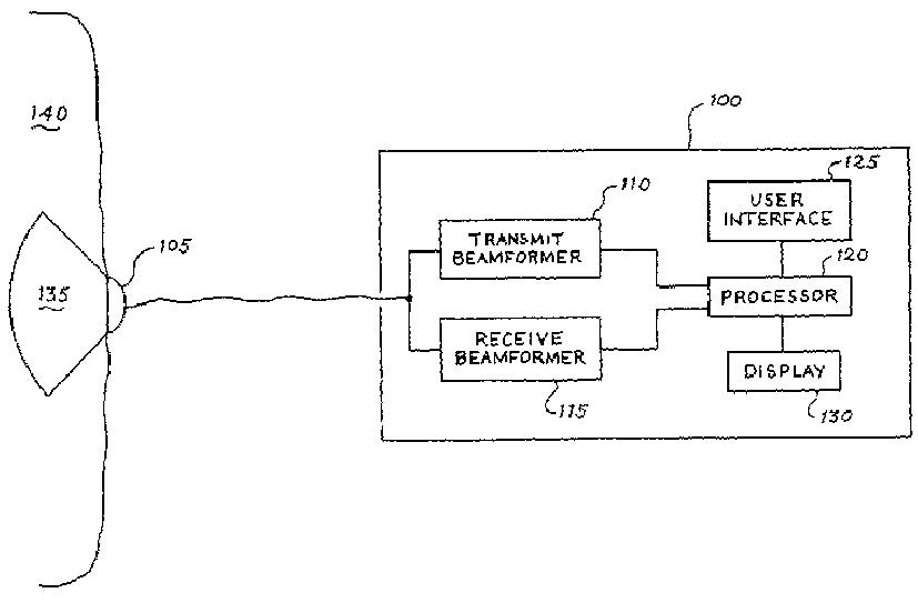
医療診断用超音波イメージングシステム及び被送信超音波ビームの音響出力パラメータを決定する方法
授权日
1900-01-01
公开(公告)号
JP2004514461A
申请日
2001-02-02
公开(公告)日
2004-05-20
当前申请(专利权)人
シーメンス メディカル ソリューションズ ユーエスエー インコーポレイテッド
发明人
アリスン ジョン ダブリュ | トマス ルウィス ジェイ | クリシュナン スリラム | ハリー グレゴリー エル
简单同族
AU2001233275A1 | DE10195485B3 | DE10195485T1 | JP2004514461A | JP2004514461A5 | JP4847665B2 | US6413218 | WO2001058357A1
简单同族成员数量
8
简单同族被引用专利总数
40
诉讼案件数
0
法律状态/事件
授权 | 权利转移
抱歉,您的浏览器不支持PDF预览,请点击链接下载PDF文件