专利数据库
统计分析
产业报告
专利数据监控
产业人才
行业动态
产业政策法规
维权援助
个人中心
详情
文本
图像
标题
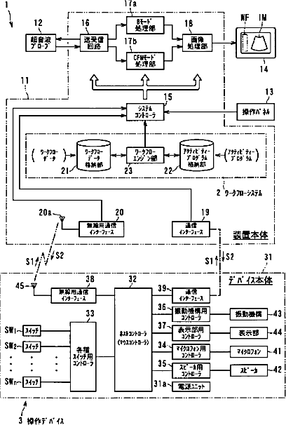
超音波診断装置及びその操作デバイス
授权日
1900-01-01
公开(公告)号
JP2003153903A
申请日
2001-11-21
公开(公告)日
2003-05-27
当前申请(专利权)人
株式会社東芝
发明人
小笠原 洋一 | 神山 直久 | 佐野 昭洋
简单同族
CN100382766C | CN1419894A | JP2003153903A | US20030135116A1 | US6773398
简单同族成员数量
5
简单同族被引用专利总数
94
诉讼案件数
0
法律状态/事件
驳回
抱歉,您的浏览器不支持PDF预览,请点击链接下载PDF文件