专利数据库
统计分析
产业报告
专利数据监控
产业人才
行业动态
产业政策法规
维权援助
个人中心
详情
文本
图像
标题
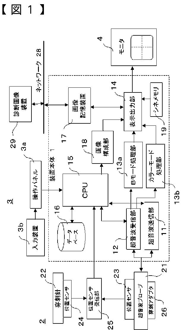
穿刺治療のための超音波診断装置
授权日
2011-09-22
公开(公告)号
JP4828802B2
申请日
2004-05-12
公开(公告)日
2011-11-30
当前申请(专利权)人
株式会社東芝 | 東芝メディカルシステムズ株式会社
发明人
嶺 喜隆 | 山形 仁
简单同族
JP2005323669A | JP4828802B2
简单同族成员数量
2
简单同族被引用专利总数
90
诉讼案件数
0
法律状态/事件
授权 | 权利转移
抱歉,您的浏览器不支持PDF预览,请点击链接下载PDF文件