专利数据库
统计分析
产业报告
专利数据监控
产业人才
行业动态
产业政策法规
维权援助
个人中心
详情
文本
图像
标题
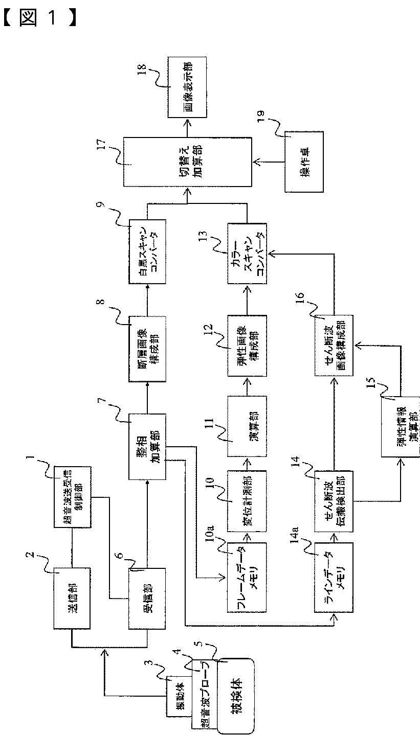
超音波診断装置
授权日
2014-06-13
公开(公告)号
JP5559788B2
申请日
2010-06-01
公开(公告)日
2014-07-23
当前申请(专利权)人
株式会社日立メディコ
发明人
大坂 卓司 | 三竹 毅 | 外村 明子
简单同族
CN102469989A | CN102469989B | JP5559788B2 | JPWO2011004661A1 | US20120123263A1 | WO2011004661A1
简单同族成员数量
6
简单同族被引用专利总数
88
诉讼案件数
0
法律状态/事件
未缴年费 | 权利转移
抱歉,您的浏览器不支持PDF预览,请点击链接下载PDF文件