专利数据库
统计分析
产业报告
专利数据监控
产业人才
行业动态
产业政策法规
维权援助
个人中心
详情
文本
图像
标题
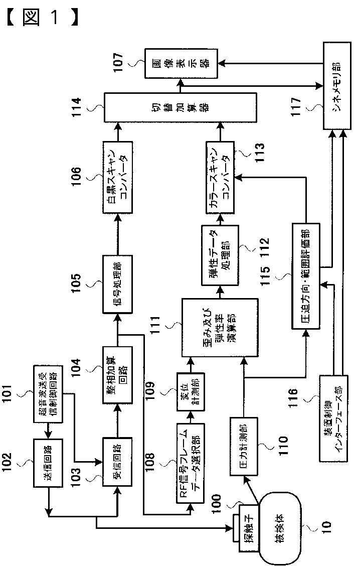
超音波診断装置および弾性画像表示方法
授权日
2011-06-24
公开(公告)号
JP4769715B2
申请日
2005-06-17
公开(公告)日
2011-09-07
当前申请(专利权)人
株式会社日立メディコ
发明人
松村 剛
简单同族
JP4769715B2 | JPWO2005122907A1 | US20070244390A1 | US8353831 | WO2005122907A1
简单同族成员数量
5
简单同族被引用专利总数
72
诉讼案件数
0
法律状态/事件
授权 | 权利转移
抱歉,您的浏览器不支持PDF预览,请点击链接下载PDF文件