专利数据库
统计分析
产业报告
专利数据监控
产业人才
行业动态
产业政策法规
维权援助
个人中心
详情
文本
图像
标题
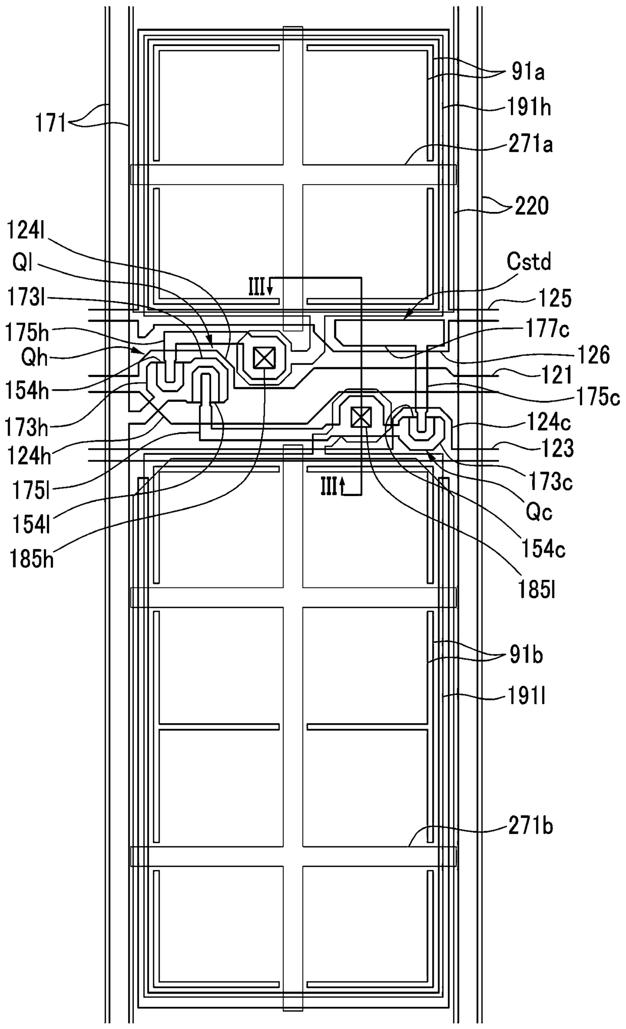
液晶显示器
授权日
2016-10-05
公开(公告)号
CN102998854B
申请日
2012-05-02
公开(公告)日
2016-10-05
当前申请(专利权)人
三星显示有限公司
发明人
权五正 | 朴宰弘 | 尹晟在 | 李赫珍 | 郑美惠 | 姜帅 | 朴卿蕙 | 金载勋
简单同族
CN102998854A | CN102998854B | EP2520974A1 | EP2520974B1 | KR1020120124012A | US20120281173A1 | US20150085238A1 | US8902386 | US9442322
简单同族成员数量
9
简单同族被引用专利总数
59
诉讼案件数
0
法律状态/事件
授权
抱歉,您的浏览器不支持PDF预览,请点击链接下载PDF文件