专利数据库
统计分析
产业报告
专利数据监控
产业人才
行业动态
产业政策法规
维权援助
个人中心
详情
文本
图像
标题
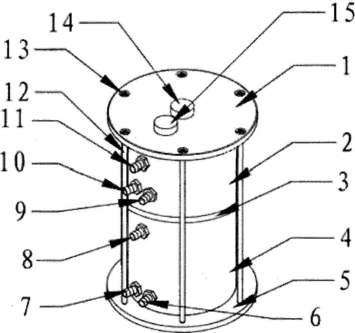
彩色多普勒超声诊断仪检测装置储存罐
授权日
2014-09-17
公开(公告)号
CN203828969U
申请日
2014-04-24
公开(公告)日
2014-09-17
当前申请(专利权)人
中国人民解放军总后勤部卫生部药品仪器检验所
发明人
李晓亮 | 宋立为 | 武文君 | 吴建刚 | 张树旺 | 李立 | 牛振英 | 魏王越 | 赵正男 | 苑富强
简单同族
CN203828969U
简单同族成员数量
1
简单同族被引用专利总数
0
诉讼案件数
0
法律状态/事件
未缴年费
抱歉,您的浏览器不支持PDF预览,请点击链接下载PDF文件