专利数据库
统计分析
产业报告
专利数据监控
产业人才
行业动态
产业政策法规
维权援助
个人中心
详情
文本
图像
标题
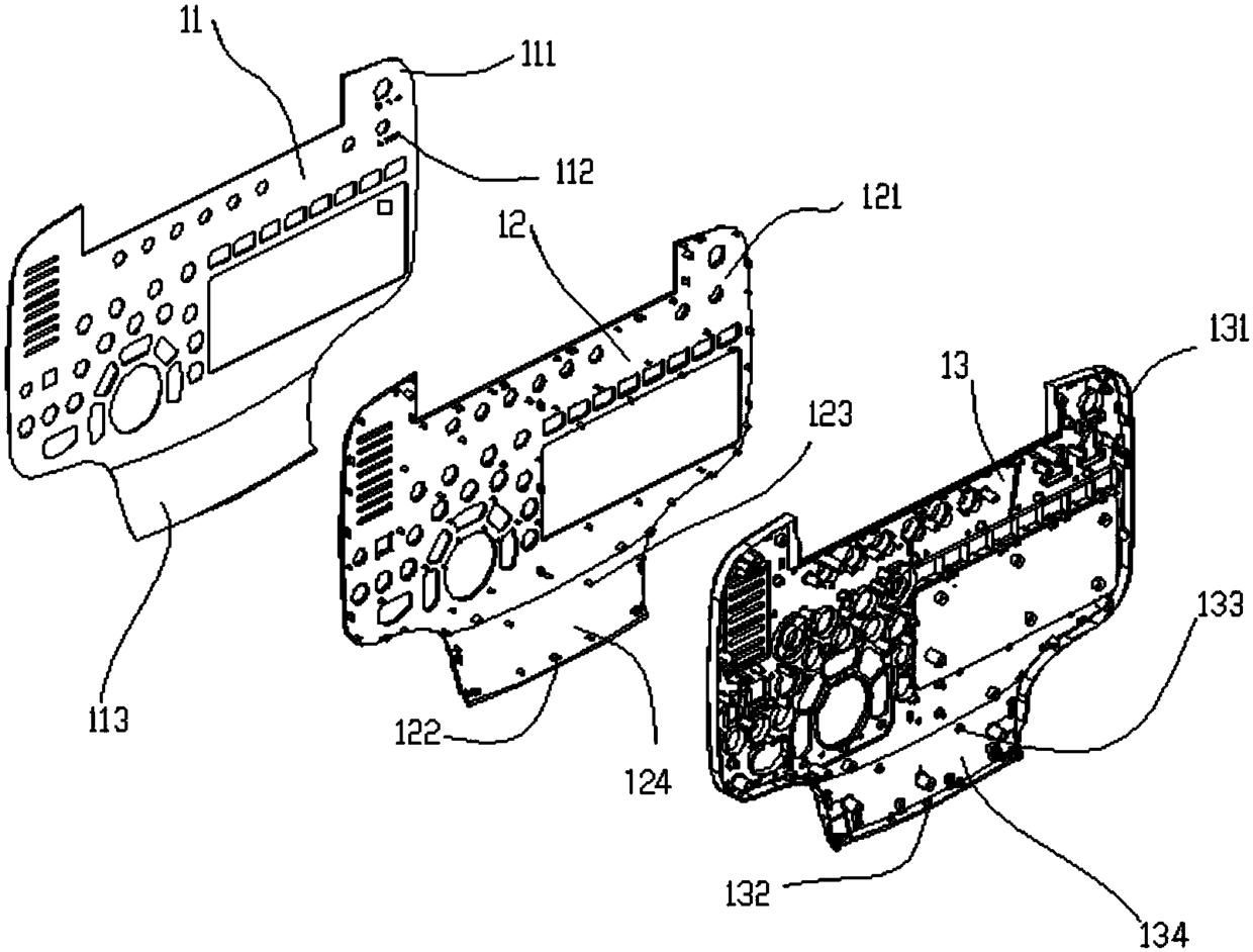
超声诊断仪及其控制面板的盖板
授权日
2015-12-02
公开(公告)号
CN204813959U
申请日
2015-08-03
公开(公告)日
2015-12-02
当前申请(专利权)人
深圳迈瑞生物医疗电子股份有限公司
发明人
易勇 | 黄力锋 | 陈志武
简单同族
CN204813959U
简单同族成员数量
1
简单同族被引用专利总数
0
诉讼案件数
0
法律状态/事件
授权
抱歉,您的浏览器不支持PDF预览,请点击链接下载PDF文件