专利数据库
统计分析
产业报告
专利数据监控
产业人才
行业动态
产业政策法规
维权援助
个人中心
详情
文本
图像
标题
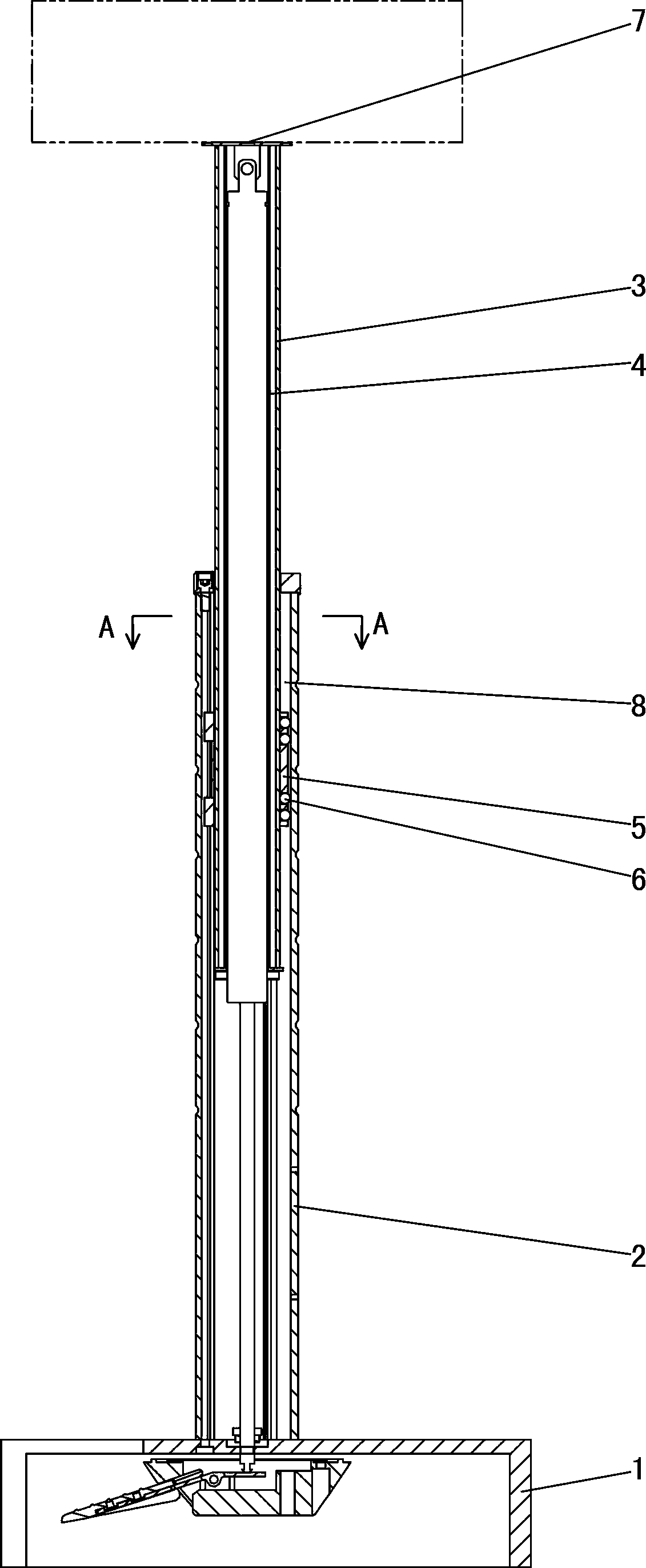
一种用于超声诊断设备的升降装置
授权日
1900-01-01
公开(公告)号
CN104546002A
申请日
2015-01-26
公开(公告)日
2015-04-29
当前申请(专利权)人
汕头市超声仪器研究所有限公司
发明人
林伟杰 | 苏树钿 | 陈凯亮 | 刘英煌
简单同族
CN104546002A
简单同族成员数量
1
简单同族被引用专利总数
0
诉讼案件数
0
法律状态/事件
驳回
抱歉,您的浏览器不支持PDF预览,请点击链接下载PDF文件