专利数据库
统计分析
产业报告
专利数据监控
产业人才
行业动态
产业政策法规
维权援助
个人中心
详情
文本
图像
标题
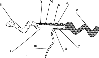
一种多点发射的超声治疗装置
授权日
2010-03-17
公开(公告)号
CN100594047C
申请日
2006-11-28
公开(公告)日
2010-03-17
当前申请(专利权)人
重庆融海超声医学工程研究中心有限公司
发明人
张春彦 | 陈文直 | 燕思源
简单同族
CA2670923A1 | CA2670923C | CN100594047C | CN101190360A | EP2085119A1 | EP2085119A4 | JP2010510816A | RU2009117395A | RU2428229C2 | US20100056925A1 | WO2008064536A1
简单同族成员数量
11
简单同族被引用专利总数
51
诉讼案件数
0
法律状态/事件
授权
抱歉,您的浏览器不支持PDF预览,请点击链接下载PDF文件